ELECTRICAL PARTS

ELECTRICAL PARTS assembly details for Stiga Estate 6102 HW (2T0970281/ST1) 2019 model

Parts list

Match the number with the image on the left and click "Add" button to add the item to your basket

Please note, that the prices are for individual items

Items might appear more than once on the drawing, please check and adjust the quantity you require.

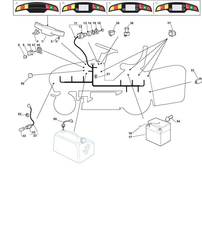
RefNoDescriptionPrice
001382722432/1PC BOARD ASSEMBLY£443.15 Add to
002112521320/0WASHER M5 5.3 x 10 x 1£2.06 Add to
003112154330/0LOW SELF-LOCKING NUT M5£2.06 Add to
004325031501/0BUZZER SOUND AMPLIFIER£6.69 Add to
008133340036/0FUSE 25A£2.06 Add to
008133340040/0FUSE 10A£2.47 Add to
009133215000/0FUSE HOLDER COVER£3.83 Add to
010133500007/0FUSE HOLDER£7.64 Add to
011182040237/0WIRING HARNESS [TX w/o RELE OPC]£252.38 Add to
012118450072/0IGNITION SWITCH£32.19 Add to
013118550136/0PLASTIC RING NUT£2.06 Add to
014118550135/0RING NUT WASHER£2.06 Add to
015118400862/0THREADED RING NUT£4.64 Add to
016118210022/0IGNITION KEY [PAIR]£9.65 Add to
017118120068/0BATTERY 12V 18AH ( No Returns On This Item )£110.39 Add to
018125430230/0SPRING ROD£3.55 Add to
031119410622/1MICRO SWITCH N.O.£7.10 Add to
032119410605/1MICRO SWITCH£36.77 Add to
036119410605/1MICRO SWITCH£36.77 Add to
038118450073/0YELLOW CLUTCH SWITCH£15.41 Add to
041182040073/0HEADLIGHTS CABLE£18.68 Add to
042133500030/0LAMP HOLDER£4.23 Add to
043118459100/0HEADLIGHT BULB£2.47 Add to
046133500010/1FUSE HOLDER PLATE£2.06 Add to
047112735170/0SCREW£1.95 Add to
051133320506/0CABLE CLIP£1.79 Add to
052133320504/0CABLE CLIP£2.06 Add to
054118564864/1RED RUBBER TERMINAL COVER£6.01 Add to
055125290001/0FUEL LEVEL INDICATOR£63.77 Add to
056133567000/0RELAY£13.91 Add to