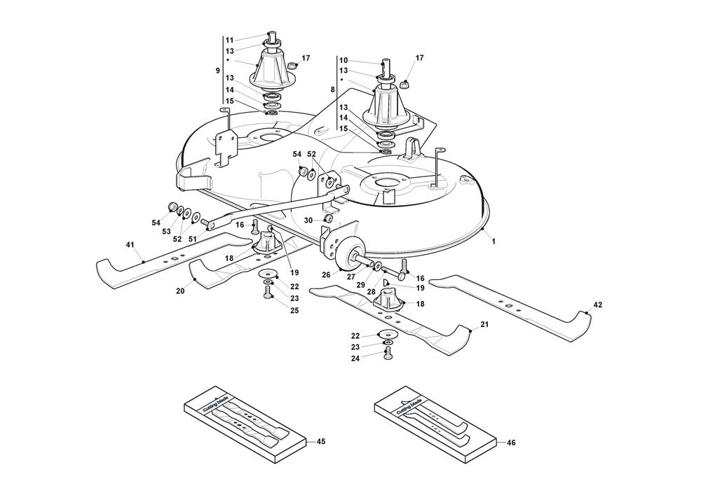
Cutting Plate

Cutting Plate assembly details for Stiga Estate 4102 H (2T1730481/17) 2018 model

Parts list

Match the number with the image on the left and click "Add" button to add the item to your basket

Please note, that the prices are for individual items

Items might appear more than once on the drawing, please check and adjust the quantity you require.

RefNoDescriptionPrice
001382564151/0CUTTER DECK CASING NJ102 [BLACK]£586.24 Add to
008382207200/1LCL/H BLADE HOUSING ASSEMBLY£122.90 Add to
009382207201/2LCSECONDARY SHAFT FLANGE TC/TCP 102£113.82 Add to
010125020800/1MAIN BLADE SHAFT£44.40 Add to
011125020801/2SECONDARY BLADE SHAFT£41.17 Add to
013119216047/0BEARING 6204-C-2HRS£13.49 Add to
014325160501/1DUST COVER WASHER£2.06 Add to
015112609260/0CIRCLIP D=20£2.02 Add to
0169959-0825-16SCREW FLANGED TE M6SF M8 x 25£2.06 Add to
017112154210/0SELF-LOCK WINGED NUT M8 DIN 6927£2.06 Add to
018125463200/0BLADE BOSS£9.08 Add to
019112139100/0WOODRUFF KEY 4 x 6.5 D=16 UNI6606 C40£2.75 Add to
020182004348/0RIGHT MULCHING BLADE 102cm£34.35 Add to
021182004347/0LEFT MULCHING BLADE 102cm£34.35 Add to
022122160400/0SPRING WASHER 50 x 2 x 10.2£2.18 Add to
023112523080/0WASHER M10 11 x 30 x 2.5£2.06 Add to
024112735694/0HEX-HEAD SCREW 3/8" X 1 1/2" 24 UNF£1.97 Add to
025112735695/1HEX-HEAD SCREW 3/8" x 1 1/2" L/H THREAD£4.23 Add to
026182700001/0ANTI-SCALP WHEEL D=100mm£5.87 Add to
027125510072/1WHEEL SPACER£2.18 Add to
028112692050/0HEX-HEAD SCREW£1.91 Add to
029112523060/0WASHER M8 8.4 X 24 X 2£2.06 Add to
030112293201/0HEXAGON NUT M8 WITH EXAGONAL FLANGE£2.06 Add to
041182004341/1RIGHT WINGED BLADE 102cm TC/TCP£32.99 Add to
042182004340/1LEFT WINGED BLADE 102cm TC/TCP£26.94 Add to
051382000474/1EQUALIZER ROD£30.31 Add to
052325670008/1ANTI-FRICTION WASHER 10.8 x 19 x 0.8£2.06 Add to
053112523060/0WASHER M8 8.4 X 24 X 2£2.06 Add to
054112156602/0LOW SELF-LOCKING NUT M10£1.79 Add to