TRANSMISSION

TRANSMISSION assembly details for Stiga 13-2963-15 VILLA 95 COMBI DECK 2014 model

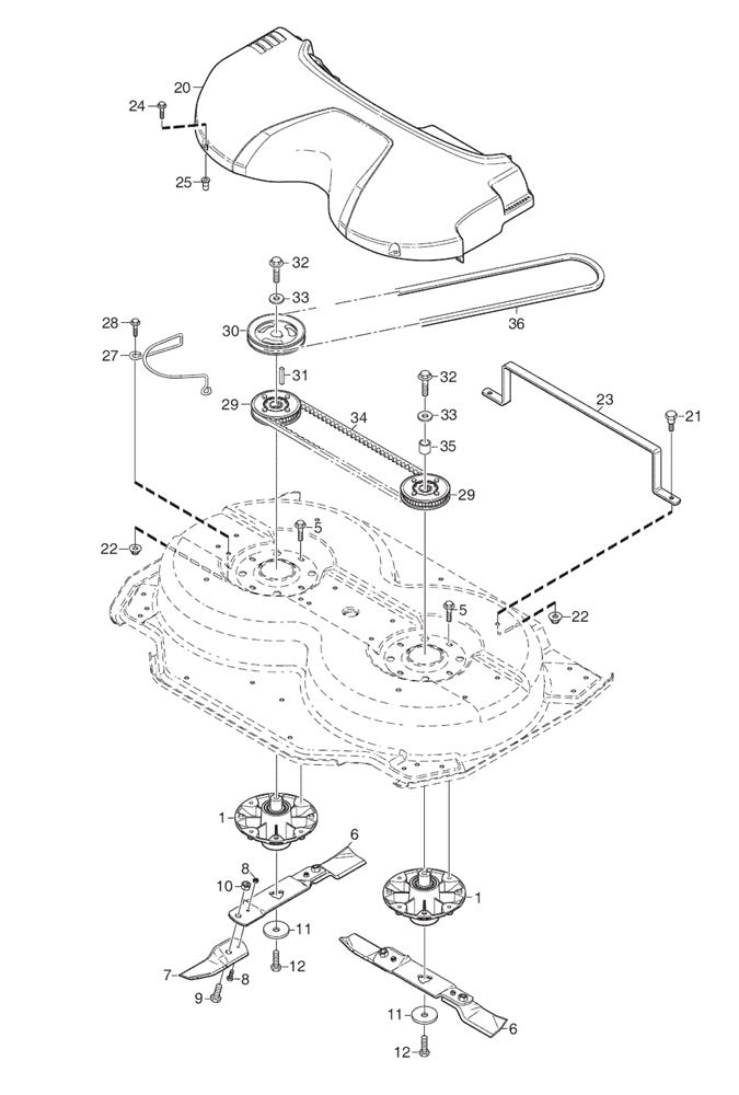
Parts list

Match the number with the image on the left and click "Add" button to add the item to your basket

Please note, that the prices are for individual items

Items might appear more than once on the drawing, please check and adjust the quantity you require.

RefNoDescriptionPrice
001387203000/0SHORT BLADE SHAFT ASSEMBLY£115.14 Add to
0059945-0825-16SCREW M6SF M8 x 25£2.32 Add to
0061134-9117-01BLADE BAR ASSEMBLY-95C [2 PCS]£109.88 Add to
0071134-9119-01BLADE TIP KIT [2 PCS]£35.15 Add to
0081134-9054-01SHEAR BOLT KIT [6 x Bolts & Nuts]£8.84 Add to
0091134-6311-01BOLT 7/16" UNF£3.24 Add to
0101134-6312-01LOCK NUT 7/16" UNF£2.87 Add to
0111134-6211-01BLADE WASHER£3.55 Add to
0129997-1060-12SCREW M6S M10 x 60£2.54 Add to
0201134-6280-04TRANSMISSION COVER [GREY]£45.52 Add to
0211134-0240-01SCREW£9.82 Add to
022112293201/0HEXAGON NUT M8 WITH EXAGONAL FLANGE£2.06 Add to
0231134-6423-01SUPPORT£23.21 Add to
0249945-0825-16SCREW M6SF M8 x 25£2.32 Add to
0251134-5595-01BLIND RIVET NUT£8.32 Add to
0271134-6429-01BELT GUIDE£15.54 Add to
0289959-0820-16FLANGED SCREW M8 x 20 8.8 DIN 6921£2.06 Add to
0291134-9127-01TOOTHED BELT PULLEY [2 PCS]£47.48 Add to
0301137-0011-01PULLEY£42.53 Add to
0319600-0168-01KEY£4.52 Add to
0329997-1060-12SCREW M6S M10 x 60£2.54 Add to
0331134-5406-01WASHER M10 10.5 x 35 x 5£4.23 Add to
0341134-9183-02TOOTHED BELT [95C-95QF]£67.05 Add to
0351134-5400-04SPACER£5.32 Add to
0361134-9068-01DECK DRIVE BELT£34.35 Add to