Transmission (Hydraulic Parts)

Transmission (Hydraulic Parts) assembly details for Stiga Park Pro 340 IX (13-6451-11) 2018 model

Parts list

Match the number with the image on the left and click "Add" button to add the item to your basket

Please note, that the prices are for individual items

Items might appear more than once on the drawing, please check and adjust the quantity you require.

RefNoDescriptionPrice
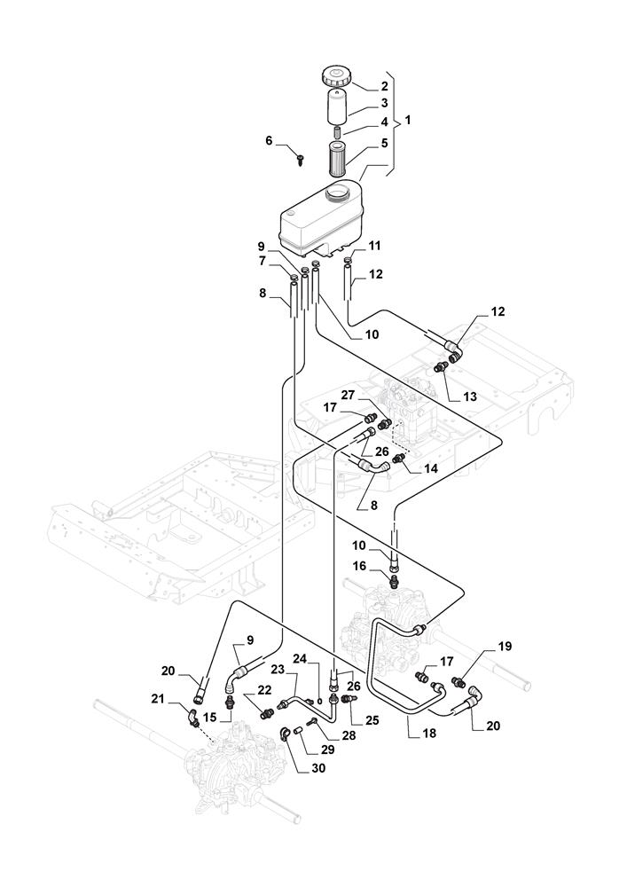
001387735259/1OIL TANK ASSEMBLEY£132.33 Add to
0021137-0272-01TANK CAP£34.35 Add to
0031134-5963-01COVER-OIL FILTER£12.00 Add to
0041134-5964-01SPRING-OIL FILTER£11.59 Add to
0051134-5962-02OIL FILTER (PAPER)£27.27 Add to
005118803490/0OIL FILTER£19.61 Add to
006112728697/0SELF-TAPPING SCREW TORX K50 x 16£2.06 Add to
0079578-0023-04HOSE CLAMP£5.32 Add to
008387869518/1PUMP DRAINAGE HOSE£66.84 Add to
009387869517/1HYDRAULIC HOSE£101.13 Add to
010387869516/1HYDRAULIC HOSE£38.44 Add to
0119578-0023-05HOSE CLAMP£4.91 Add to
012387869519/1HYDRAULIC HOSE£74.86 Add to
0131134-5810-01HYDRAULIC COUPLING£17.86 Add to
0141134-4282-01HYDRAULIC NIPPLE£46.61 Add to
0151134-5809-01HYDRAULIC COUPLING£17.86 Add to
0161134-5809-01HYDRAULIC COUPLING£17.86 Add to
0171134-5808-01HYDRAULIC COUPLING£50.70 Add to
018387869500/0HYDRAULIC HOSE£98.40 Add to
0191134-5810-01HYDRAULIC COUPLING£17.86 Add to
020387869512/0HYDRAULIC HOSE£161.04 Add to
0221134-5875-01HYDRAULIC COUPLING£71.14 Add to
0231134-6039-01HYDRAULIC PIPE ASSEMBLY£197.87 Add to
0241134-4948-01SEAL WASHER 1/4"£2.59 Add to
0251134-6042-01QUICK COUPLING-MALE 1/4"£32.08 Add to
026387869513/0HYDRAULIC HOSE£107.93 Add to
0271134-5810-01HYDRAULIC COUPLING£17.86 Add to
0289578-0028-01TUBE CLAMP£9.31 Add to
0299959-0825-16SCREW FLANGED TE M6SF M8 x 25£2.06 Add to
0301134-1565-09SPACER£13.90 Add to