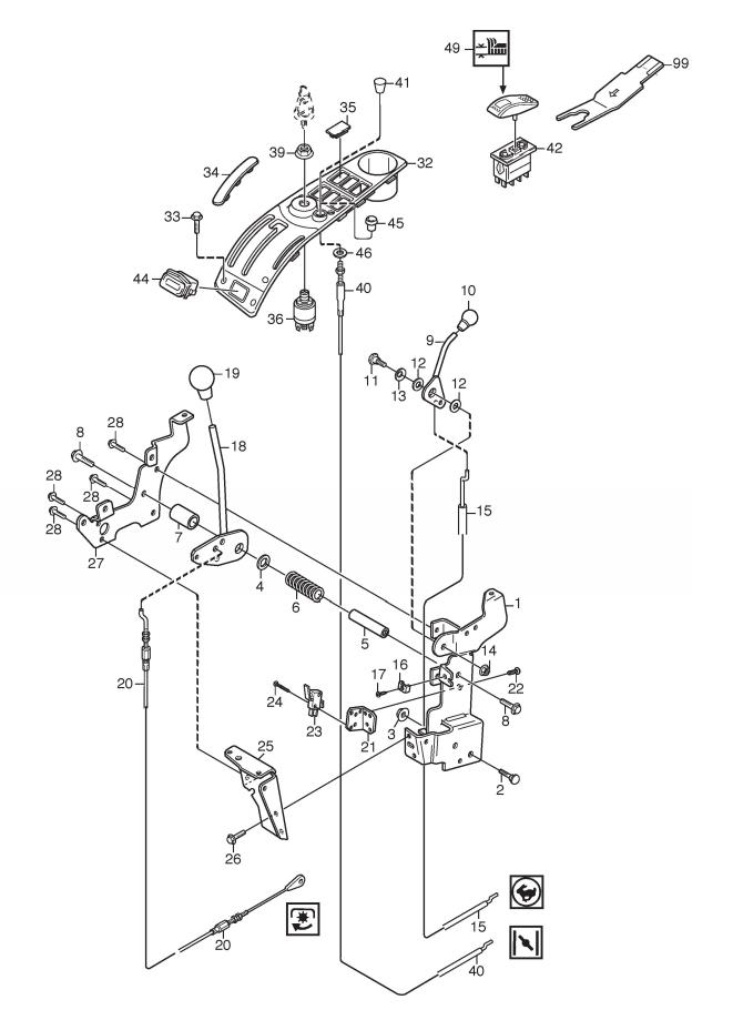
Hand Controls

Hand Controls assembly details for Stiga PARK 420 P 2017 (2F6220511/S16) 2017 model

Parts list

Match the number with the image on the left and click "Add" button to add the item to your basket

Please note, that the prices are for individual items

Items might appear more than once on the drawing, please check and adjust the quantity you require.

RefNoDescriptionPrice
0011134-4156-01INNER PANEL BRACKET£60.24 Add to
0029897-0820-16SCREW M8 x 20£2.32 Add to
003112293201/0HEXAGON NUT M8 WITH EXAGONAL FLANGE£2.06 Add to
0049695-0011-00WASHER 16 x 22 x 1£2.47 Add to
0051134-4065-01CONTROL SHAFT£22.08 Add to
0061134-4079-01SPRING£8.73 Add to
0071134-4080-03CONTROL SLEEVE£8.73 Add to
0089959-0820-16FLANGED SCREW M8 x 20 8.8 DIN 6921£2.06 Add to
0091134-4077-02THROTTLE CONTROL LEVER£27.27 Add to
0101134-4078-01KNOB£5.87 Add to
0111134-0240-00SCREW£9.14 Add to
0121134-4242-01SPACER WASHER£4.78 Add to
0139665-0002-00BOWL WASHER£2.61 Add to
014112155000/0LOW SELF-LOCKING NUT M8£2.06 Add to
015137065322/0THROTTLE CABLE (L=925mm)£21.40 Add to
0161137-0115-01WIRE CLAMP£2.18 Add to
0179943-0516-16SCREW£2.40 Add to
018387318277/0CONTROL LEVER£30.68 Add to
0191134-2551-01GEAR KNOB£11.59 Add to
0201134-3573-03PTO CABLE£37.40 Add to
0211134-5358-01SWITCH BRACKET£31.10 Add to
0229852-8013-16SCREW£2.47 Add to
0239400-0360-01MICRO SWITCH£8.60 Add to
0249840-7716-16SCREW£2.32 Add to
0251134-6328-01SPACER£19.93 Add to
0269893-0616-16SCREW M6 x 16£2.47 Add to
0289893-0616-16SCREW M6 x 16£2.47 Add to
0321134-6096-05DASHBOARD£117.47 Add to
0339946-0525-16SCREW M5 x 25£2.47 Add to
0341134-4154-01GEAR LEVER COVER£8.73 Add to
0351134-4129-01COVER£6.14 Add to
0361134-4093-01IGNITION SWITCH£67.05 Add to
0391134-4749-01NUT£5.05 Add to
0429400-0282-01SWITCH C/W DIODE No returns on this item£76.59 Add to
0449400-0384-01HOUR METER£94.31 Add to
0451134-4100-01PLUG£4.78 Add to
0499400-0280-03SWITCH COVER-HEIGHT ADJUST£18.27 Add to
0999400-0290-01TOOL£27.27 Add to