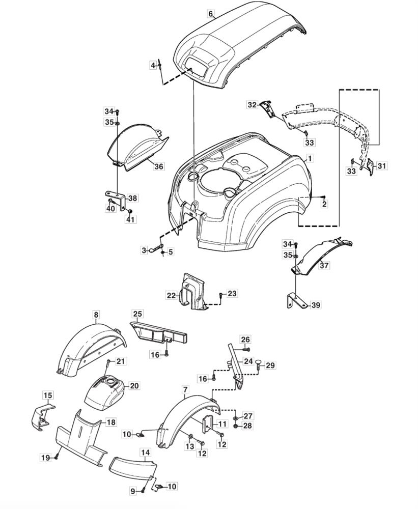
Body Work

Body Work assembly details for Stiga PARK 340 MWX (2F6130620/S15) 2015 model

Parts list

Match the number with the image on the left and click "Add" button to add the item to your basket

Please note, that the prices are for individual items

Items might appear more than once on the drawing, please check and adjust the quantity you require.

RefNoDescriptionPrice
0011134-6025-01ENGINE HOOD [YELLOW]£346.76 Add to
0029893-0616-16SCREW M6 x 16£2.47 Add to
0031134-9028-01RUBBER STRAP (3 PCS)£26.46 Add to
0049632-0513-00POP RIVET 3.2 x 20 (OBSOLETE) (OBSOLETE)N/A
0059699-0120-02WASHER 3.2 x 14 x 1.5£2.32 Add to
0061134-6026-01ENGINE COVER [GREY]£88.85 Add to
0071134-5308-01MUDGUARD LH [GREY]£94.31 Add to
0081134-5308-02MUDGUARD RH [GREY]£112.23 Add to
0099893-0616-16SCREW M6 x 16£2.47 Add to
0101134-4176-01CLIP£5.19 Add to
0111134-0225-00SUPPORT PLATE£11.18 Add to
0129945-0816-16SCREW M8 X 16£2.54 Add to
013112523060/0WASHER M8 8.4 X 24 X 2£2.06 Add to
0141134-5306-01FRONT BUMPER LH [GREY]£24.95 Add to
015337502505/0FRONT BUMPER RH [GREY]£56.15 Add to
0169893-0616-16SCREW M6 x 16£2.47 Add to
0181134-5305-01FRONT BUMPER [YELLOW]£84.77 Add to
0199893-0616-16SCREW M6 x 16£2.47 Add to
0201134-5320-05FRONT UPPER COVER [YELLOW]£41.10 Add to
0219946-0525-16SCREW M5 x 25£2.47 Add to
0221134-6241-01HOOD SUPPORT£42.53 Add to
0239893-0616-16SCREW M6 x 16£2.47 Add to
0241134-3970-05LEFT MOULDING [GREY]£56.72 Add to
0251134-3970-02RIGHT MOULDING [GREY]£58.87 Add to
0269893-0616-16SCREW M6 x 16£2.47 Add to
027112523040/0WASHER M6 6.6 x 18 x 1.6£2.06 Add to
028112154510/0LOW SELF-LOCKING NUT M6 UNI7474 ACC.6S£2.06 Add to
029112815200/0SCREW TTDQ M6X16£2.06 Add to
0311134-6027-01BUMPER END-LH£16.38 Add to
0321134-6027-02BUMPER END-RH£15.81 Add to
0331134-6310-01CLIP£2.32 Add to
0349893-0616-16SCREW M6 x 16£2.47 Add to
035112523040/0WASHER M6 6.6 x 18 x 1.6£2.06 Add to
0361134-4800-01INNER MUDGUARD-RH (PARK)£120.11 Add to
0371134-4801-01INNER MUDGUARD-LH (PARK)£120.11 Add to
0381134-4012-03RIGHT BRACKET£18.82 Add to
0391134-4012-04LEFT BRACKET£18.82 Add to
0409959-0820-16FLANGED SCREW M8 x 20 8.8 DIN 6921£2.06 Add to
041112293201/0HEXAGON NUT M8 WITH EXAGONAL FLANGE£2.06 Add to