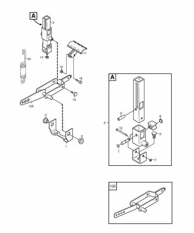
Pedal Lift

Pedal Lift assembly details for Stiga PARK RESIDENCE 4WD 2012 (13-6378-11) 2012 model

Parts list

Match the number with the image on the left and click "Add" button to add the item to your basket

Please note, that the prices are for individual items

Items might appear more than once on the drawing, please check and adjust the quantity you require.

RefNoDescriptionPrice
0011134-4117-01BRACKET£32.99 Add to
0021134-2684-01BUSH£7.10 Add to
0031134-4945-01LIFT CATCH ASSEMBLY£124.29 Add to
0079404-0027-01O RING 4.48 X 1.78£3.00 Add to
0089650-0039-04CIRCLIP 8mm£2.47 Add to
0099595-0276-01LOCATING PIN£3.55 Add to
010112689500/0SCREW M6 x 40£2.06 Add to
011112154510/0LOW SELF-LOCKING NUT M6 UNI7474 ACC.6S£2.06 Add to
0139897-0820-16SCREW M8 x 20£2.32 Add to
014112293201/0HEXAGON NUT M8 WITH EXAGONAL FLANGE£2.06 Add to
0151134-4860-01LIFT FORK (OBSOLETE)N/A
015A1137-0109-01LIFT ARM ASSEMBLY£113.39 Add to
0161134-0240-00SCREW£9.14 Add to
0171134-4938-01LIFT PEDAL£24.95 Add to
018112791500/0SCREW TE M6x25 UNI 5739 ACC.8.8£2.06 Add to
019112292102/0FLANGED HEXAGONAL NUT M6£2.06 Add to
0204231-0013-00SPRING£8.87 Add to