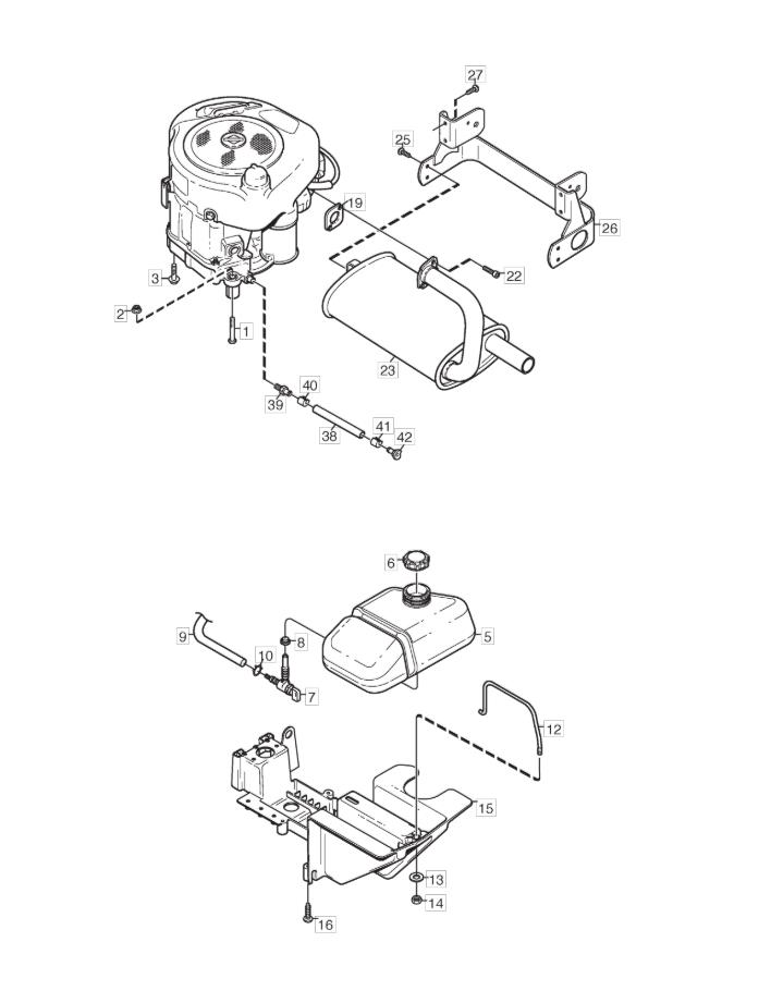
Engine

Engine assembly details for Stiga VILLA 12 (13-2717-15 2011 model

Parts list

Match the number with the image on the left and click "Add" button to add the item to your basket

Please note, that the prices are for individual items

Items might appear more than once on the drawing, please check and adjust the quantity you require.

RefNoDescriptionPrice
0019997-0840-16SCREW M6S M8 x 40£2.06 Add to
002112293201/0HEXAGON NUT M8 WITH EXAGONAL FLANGE£2.06 Add to
0039955-3725-16SCREW 3/8" x 25£2.87 Add to
0051134-6626-01FUEL TANK£45.26 Add to
006125795001/1FUEL TANK CAP£8.32 Add to
0071134-3224-01FUEL SHUT-OFF VALVE£24.95 Add to
0081134-3225-01GROMMET£7.57 Add to
0099505-0001-01FUEL HOSE [1M]£9.39 Add to
0109578-0023-02HOSE CLAMP£5.73 Add to
0121134-4808-01TANK CLAMP£14.32 Add to
013112523040/0WASHER M6 6.6 x 18 x 1.6£2.06 Add to
014112154510/0LOW SELF-LOCKING NUT M6 UNI7474 ACC.6S£2.06 Add to
0151134-4807-02BATTERY SUPPORT PLATE£91.58 Add to
0169838-8822-19SCREW K60 x 22£2.06 Add to
0191134-0433-00MUFFLER GASKET£5.87 Add to
0221134-4930-01SCREW£2.32 Add to
0231134-7781-01MUFFLER (OBSOLETE)N/A
0259893-0616-16SCREW M6 x 16£2.47 Add to
0261134-6699-01HEAT GUARD£93.36 Add to
0279893-0616-16SCREW M6 x 16£2.47 Add to
0381134-5827-05OIL DRAIN ASSEMBLY£35.71 Add to
0391134-5825-01NIPPLE£58.87 Add to
0409578-0023-04HOSE CLAMP£5.32 Add to
0419578-0023-00HOSE CLAMP£24.95 Add to
0421134-5826-01PLUG£24.95 Add to