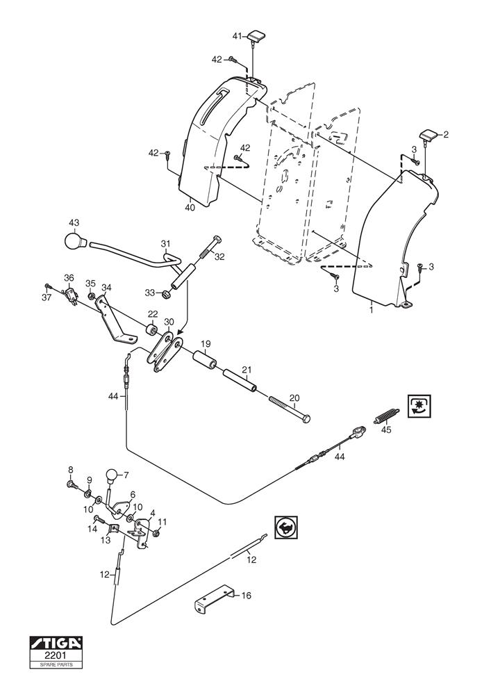
Hand Controls

Hand Controls assembly details for Stiga Villa 12 HST (13-2727-14) 2010 model

Parts list

Match the number with the image on the left and click "Add" button to add the item to your basket

Please note, that the prices are for individual items

Items might appear more than once on the drawing, please check and adjust the quantity you require.

RefNoDescriptionPrice
0011134-5286-04DASHBOARD-LH (GREY)£75.09 Add to
0021134-5531-01ABSORBER£25.07 Add to
0039893-0616-16SCREW M6 x 16£2.47 Add to
0041134-5464-01BRACKET£28.90 Add to
0061134-5465-02THROTTLE LEVER£17.59 Add to
0071134-4078-01KNOB£5.87 Add to
0081134-0240-00SCREW£9.14 Add to
009122675110/0WASHER D=13.5 x 20.5 x 0.5£2.14 Add to
0101134-4242-01SPACER WASHER£4.78 Add to
011112155000/0LOW SELF-LOCKING NUT M8£2.06 Add to
0121134-4197-03THROTTLE CABLE£24.95 Add to
0139500-9991-00CABLE CLAMP£7.78 Add to
0149943-0516-16SCREW£2.40 Add to
0161134-6370-01WIRE GUIDE£10.50 Add to
0191134-5508-01CONTROL SLEEVE£17.86 Add to
0209997-0812-02SCREW M6S M8 x 120£2.06 Add to
0211134-5274-02SPACER£9.68 Add to
0221134-3047-01SPACER£8.04 Add to
0301134-5271-01CONTROL BRACKET£35.71 Add to
0311134-5276-01CONTROL LEVER£42.53 Add to
032112692080/0HEX-HEAD SCREW M8 x 90£2.06 Add to
033112155000/0LOW SELF-LOCKING NUT M8£2.06 Add to
0341134-5356-01STRUT£20.45 Add to
035112155000/0LOW SELF-LOCKING NUT M8£2.06 Add to
0369400-0360-01MICRO SWITCH£8.60 Add to
0379840-7716-16SCREW£2.32 Add to
0401134-5285-02DASHBOARD HST-RH (GREY)£72.73 Add to
0411134-5531-01ABSORBER£25.07 Add to
0429893-0616-16SCREW M6 x 16£2.47 Add to
0431134-2551-01GEAR KNOB£11.59 Add to
0441134-3573-06PTO CABLE£34.35 Add to
0451134-1242-02SPRING£10.50 Add to