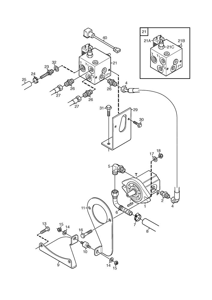
PTO-Pump 1

PTO-Pump 1 assembly details for Stiga Titan 26H (13-7434-22) 2010 model

Parts list

Match the number with the image on the left and click "Add" button to add the item to your basket

Please note, that the prices are for individual items

Items might appear more than once on the drawing, please check and adjust the quantity you require.

RefNoDescriptionPrice
0011135-2517-01HYDRAULIC PUMP-PTO£722.51 Add to
0021134-7315-01HYDRAULIC CONNECTOR£16.22 Add to
0051134-7186-01HYDRAULIC COUPLING£93.36 Add to
0061134-7448-01TUBE COUPLING£60.56 Add to
0079578-0032-01TUBE CLAMP£7.64 Add to
0081134-7152-01HYDRAULIC HOSE 1"£28.90 Add to
0091135-2578-01BRACKET YANMAR-82£72.73 Add to
0091135-2781-01BRACKET£272.82 Add to
0109550-0008-03VIBRATION DAMPER£20.72 Add to
0111135-2579-01LEVER-PTO PUMP£101.13 Add to
0139959-1025-16SCREW M6SF M10 x 25 TL£3.00 Add to
014112523060/0WASHER M8 8.4 X 24 X 2£2.06 Add to
015112155000/0LOW SELF-LOCKING NUT M8£2.06 Add to
0169997-1035-16SCREW M6S M10 x 35£3.28 Add to
0179699-0030-02WASHER (10 X 26 X 2)£2.14 Add to
018112156602/0LOW SELF-LOCKING NUT M10£1.79 Add to
0211134-7127-02HYDRAULIC VALVE£1,301.65 Add to
0211139-2088-02ELECTRIC VALVE C/W MAGNET£422.72 Add to
0211139-2089-01RELIEF VALVE (10 BAR)£586.24 Add to
0211139-2090-01RELIEF VALVE (220 BAR)£565.79 Add to
0249578-0031-01HOSE CLAMP£5.58 Add to
030112793102/0SCREW TE M8x20 UNI 5739 ACC.8.8£2.06 Add to
0319945-0825-16SCREW M6SF M8 x 25£2.32 Add to
0401134-7225-01WIRE HARNESS [PTO]£83.40 Add to