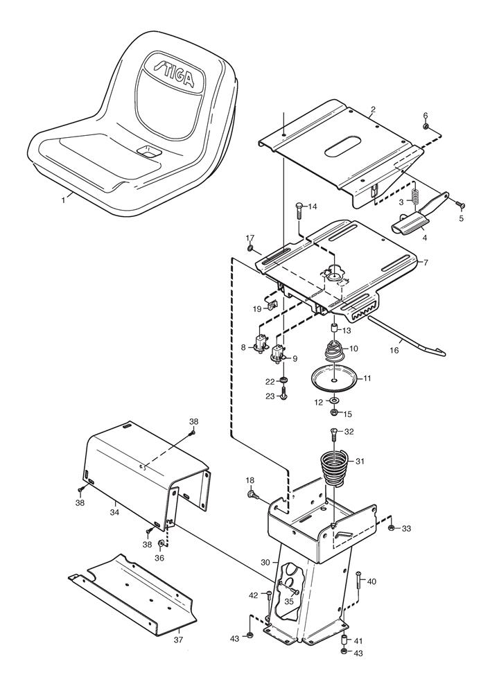
Seat

Seat assembly details for Stiga Park President 14 (13-6184-06) 2010 model

Parts list

Match the number with the image on the left and click "Add" button to add the item to your basket

Please note, that the prices are for individual items

Items might appear more than once on the drawing, please check and adjust the quantity you require.

RefNoDescriptionPrice
001137722604/0SEAT [VILLA/PC/PCH]£338.69 Add to
0021134-6090-01UPPER SLIDE PLATE£99.76 Add to
0031134-3262-01SPRING£8.73 Add to
0041134-6073-01HANDLE ASSEMBLY£41.16 Add to
0059893-0616-16SCREW M6 x 16£2.47 Add to
006112154510/0LOW SELF-LOCKING NUT M6 UNI7474 ACC.6S£2.06 Add to
0071134-6068-01LOWER SLIDE PLATE£114.96 Add to
0081134-3156-01SEAT SWITCH [BLACK]£45.26 Add to
0091134-3156-02SEAT SWITCH [GREY]£47.97 Add to
0101134-5302-01SPRING£8.87 Add to
0111134-5299-01PUSH PLATE£17.86 Add to
0129699-0090-02WASHER 8.4 x 18 x 1.5£2.32 Add to
0131134-1565-06SPACER£11.32 Add to
0149997-0840-16SCREW M6S M8 x 40£2.06 Add to
015112155000/0LOW SELF-LOCKING NUT M8£2.06 Add to
0161134-5179-01CATCH ROD£13.77 Add to
017112604899/0STARLOCK WASHER RPCO 308 D=8£2.06 Add to
0181134-0240-00SCREW£9.14 Add to
0191134-4620-02SPRING NUT£8.32 Add to
019A1134-4620-02SPRING NUT£8.32 Add to
0221134-6078-01FLANGE WASHER£5.87 Add to
0239959-0820-16FLANGED SCREW M8 x 20 8.8 DIN 6921£2.06 Add to
0301134-5698-01SEAT BRACKET£162.60 Add to
031137430116/0SEAT SPRING£26.18 Add to
0329924-1235-19SCREW MF6S M12 x 35£4.23 Add to
0339747-1231-02NUT£2.06 Add to
0341134-3990-01ATTACHMENT-SIDE PANEL£164.18 Add to
0359897-0820-16SCREW M8 x 20£2.32 Add to
036112293201/0HEXAGON NUT M8 WITH EXAGONAL FLANGE£2.06 Add to
0371134-4130-01LOWER COVER YELLOW STIGA£41.16 Add to
0389840-8019-16SCREW£2.47 Add to
0409897-0880-12SCREW MVBF 8 x 80£2.32 Add to
0411134-1565-08SPACER£9.94 Add to
0429897-0820-16SCREW M8 x 20£2.32 Add to
043112155000/0LOW SELF-LOCKING NUT M8£2.06 Add to