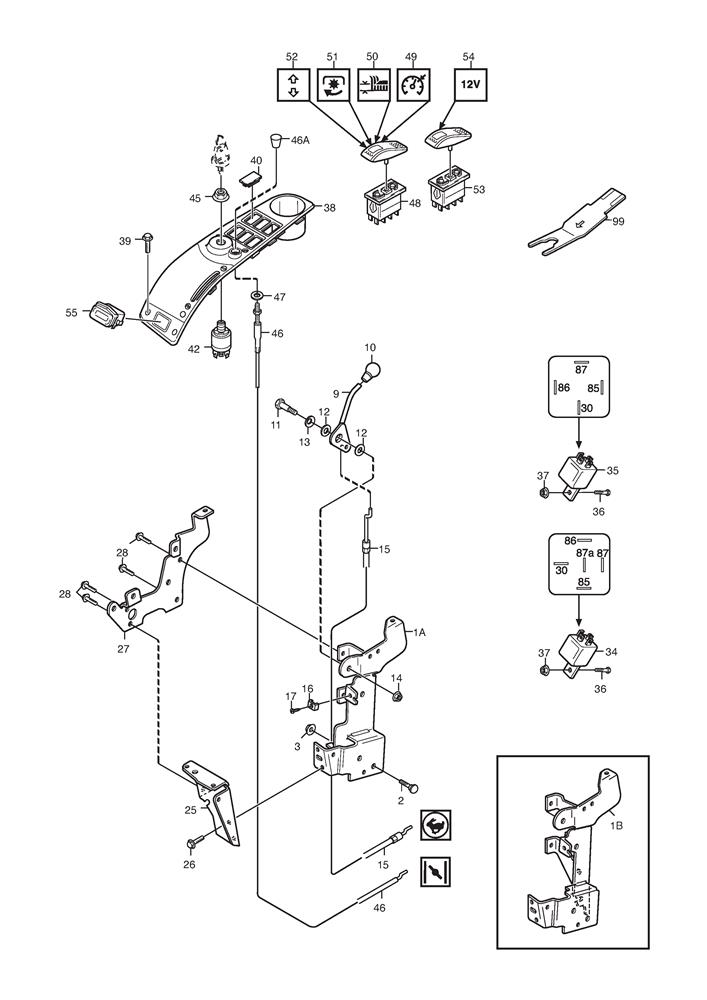
Hand Controls

Hand Controls assembly details for Stiga Park Pro 25 4WD (13-6246-14) 2008 model

Parts list

Match the number with the image on the left and click "Add" button to add the item to your basket

Please note, that the prices are for individual items

Items might appear more than once on the drawing, please check and adjust the quantity you require.

RefNoDescriptionPrice
001B1134-6324-01PANEL BRACKET£57.52 Add to
0029897-0820-16SCREW M8 x 20£2.32 Add to
003112293201/0HEXAGON NUT M8 WITH EXAGONAL FLANGE£2.06 Add to
0091134-5465-02THROTTLE LEVER£17.59 Add to
0101134-4078-01KNOB£5.87 Add to
0111134-0240-00SCREW£9.14 Add to
0121134-4242-01SPACER WASHER£4.78 Add to
013122675110/0WASHER D=13.5 x 20.5 x 0.5£2.14 Add to
014112155000/0LOW SELF-LOCKING NUT M8£2.06 Add to
0151134-4195-03THROTTLE CABLE£27.27 Add to
0169500-9991-00CABLE CLAMP£7.78 Add to
0179943-0516-16SCREW£2.40 Add to
0251134-6328-01SPACER£19.93 Add to
0269893-0616-16SCREW M6 x 16£2.47 Add to
0271134-6327-01FRONT PLATE£21.82 Add to
0289893-0616-16SCREW M6 x 16£2.47 Add to
0341134-2871-03STARTER RELAY [5 SPADE]£45.26 Add to
0351134-2871-01DECK RELAY [4 SPADE]£45.26 Add to
036112789000/0SCREW TE M5 x 12£2.06 Add to
0379739-0531-22NUT M5£2.47 Add to
0381134-6096-09DASHBOARD£31.34 Add to
0399946-0525-16SCREW M5 x 25£2.47 Add to
0401134-4129-01COVER£6.14 Add to
0421134-4093-01IGNITION SWITCH£67.05 Add to
0451134-4749-01NUT£5.05 Add to
0461134-2872-01CHOKE CONTROL CABLE£68.42 Add to
046A1134-4338-01CHOKE CONTROL BUTTON£15.81 Add to
0479699-0090-02WASHER 8.4 x 18 x 1.5£2.32 Add to
0489400-0282-01SWITCH C/W DIODE No returns on this item£76.59 Add to
0499400-0280-02SWITH COVER-CRUISE CONTROL£19.36 Add to
0509400-0280-03SWITCH COVER-HEIGHT ADJUST£18.27 Add to
0519400-0280-01SWITCH COVER-PTO£19.77 Add to
0529400-0280-04SWITCH COVER-REAR TOOLS£19.36 Add to
0539400-0283-01SWITCH£92.95 Add to
0549400-0280-05SWITCH 12V£6.27 Add to
0559400-0384-01HOUR METER£94.31 Add to
0999400-0290-01TOOL£27.27 Add to