Transmission

Transmission assembly details for Stiga Villa 16 HST (13-2719-11) 2007 model

Parts list

Match the number with the image on the left and click "Add" button to add the item to your basket

Please note, that the prices are for individual items

Items might appear more than once on the drawing, please check and adjust the quantity you require.

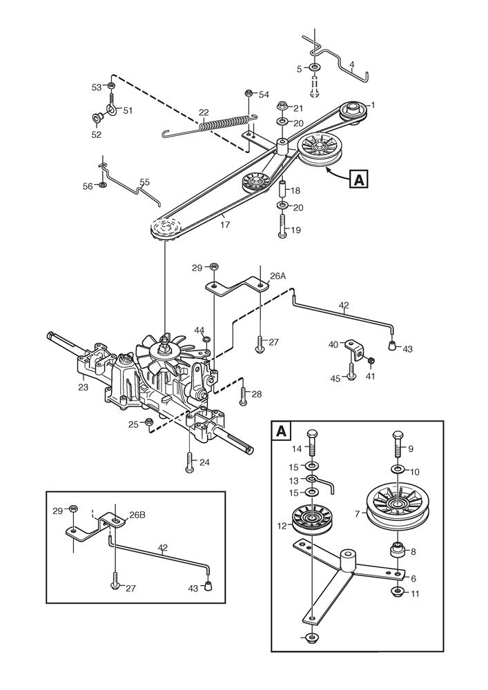
RefNoDescriptionPrice
0011134-4611-01ENGINE BELT PULLEY£124.29 Add to
005112523060/0WASHER M8 8.4 X 24 X 2£2.06 Add to
0061134-4519-01TENSION ARM£43.46 Add to
007387605016/0TENSION PULLEY£46.61 Add to
0081134-4614-01SPACER£9.00 Add to
0099997-1040-16SCREW M6S 10 x 40£7.23 Add to
010112521360/0WASHER M10 10.5 x 20 x 2£2.06 Add to
0119739-1031-22NUT M10£2.32 Add to
012387605008/0TENSION PULLEY [GREY]£35.71 Add to
0131134-1795-01BELT STIRRUP£11.87 Add to
0149997-1040-16SCREW M6S 10 x 40£7.23 Add to
015112521360/0WASHER M10 10.5 x 20 x 2£2.06 Add to
0169739-1031-22NUT M10£2.32 Add to
0171134-9165-01TRANSMISSION BELT£39.80 Add to
018137038008/0TRANSMISSION PULLEY BUSH£9.00 Add to
0199997-0870-16SCREW M6S M8 x 70£2.47 Add to
020112523060/0WASHER M8 8.4 X 24 X 2£2.06 Add to
021112293201/0HEXAGON NUT M8 WITH EXAGONAL FLANGE£2.06 Add to
0221134-5214-01SPRING£13.49 Add to
0231134-7766-01TRANSAXLE K46 CJ£1,035.97 Add to
0249960-0860-12SCREW M8 x 60£2.32 Add to
025112155000/0LOW SELF-LOCKING NUT M8£2.06 Add to
026B1134-6290-01STRUT£10.77 Add to
0279945-0816-16SCREW M8 X 16£2.54 Add to
028112691115/0HEX-HEAD SCREW M8 x 40£2.06 Add to
029112155000/0LOW SELF-LOCKING NUT M8£2.06 Add to
0401134-4713-01BRACKET£13.91 Add to
0411134-2790-01RUBBER GROMMET£6.95 Add to
0421134-5156-01PULL ROD£11.32 Add to
0431134-4014-01KNOB£5.19 Add to
044112604896/0STARLOCK WASHER D=6£2.06 Add to
0459945-0816-16SCREW M8 X 16£2.54 Add to
0511134-2138-01EYE BOLT£8.87 Add to
0521134-4779-01PLASTIC BUSH£2.18 Add to
053112293201/0HEXAGON NUT M8 WITH EXAGONAL FLANGE£2.06 Add to
054112155000/0LOW SELF-LOCKING NUT M8£2.06 Add to
0551134-5319-01BELT GUIDE£8.32 Add to
056112523060/0WASHER M8 8.4 X 24 X 2£2.06 Add to