Kanzaki Transaxle K46G

Kanzaki Transaxle K46G assembly details for Stiga Park Royal (13-6183-13) 2007 model

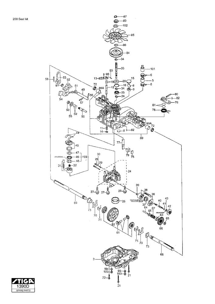
Parts list

Match the number with the image on the left and click "Add" button to add the item to your basket

Please note, that the prices are for individual items

Items might appear more than once on the drawing, please check and adjust the quantity you require.

RefNoDescriptionPrice
0011137-0123-01TRANSAXLE K46CI£1,627.92 Add to
0031139-2757-01HOUSING SERVICE KIT£681.72 Add to
0051139-1301-01TUBE£9.41 Add to
0061139-1336-01COBRA CLIP£5.19 Add to
0081139-1150-01MAGNET£8.23 Add to
0091139-1341-01MAGNET HOLDER£4.37 Add to
0111139-1347-01SPRING£1.91 Add to
0121139-1251-01BY-PASS SHAFT£34.80 Add to
0131139-1189-01BY-PASS LEVER£9.19 Add to
0141139-1161-01RING£1.58 Add to
0161139-1104-01CIRCLIP£2.06 Add to
0191139-1117-01O RING£1.50 Add to
0201139-1119-01SEAL 15.35.7£5.37 Add to
0211139-1295-01SCREW£2.87 Add to
0251139-1158-01PIN£1.58 Add to
0261139-1405-01FILTER 105 Μ£24.64 Add to
0291139-1338-01SPRING£1.79 Add to
0301139-1346-01BALL£2.06 Add to
0311139-1600-01REPAIR KIT£1,203.86 Add to
0321139-1245-01PUMP SPRING£4.80 Add to
0331139-1246-01PUMP SHAFT£63.43 Add to
0341139-1750-01E-RING£2.06 Add to
0351139-1110-01BEARING£10.77 Add to
0361139-2765-01MOTOR HOUSING£52.46 Add to
0371139-1501-01BEARING£40.64 Add to
0381139-1593-01REPAIR KIT£865.59 Add to
0391139-1160-01WASHER£1.58 Add to
0401139-1353-01MOTOR SHAFT£33.69 Add to
0411139-1021-01CIRCLIP£2.06 Add to
0421139-1272-01MOTOR GEAR£19.62 Add to
0431139-1453-01BEARING£18.75 Add to
0451139-1067-01SWASH PLATE ASSY£38.19 Add to
0451139-1475-01SWASH PLATE£20.04 Add to
0521139-1409-01CONTROL ARM£45.26 Add to
0531139-1325-01CONTROL LEVER£22.91 Add to
0551139-1102-01WASHER£5.75 Add to
0561139-1355-01COTTER PIN£2.32 Add to
0571139-1329-01PIN£2.06 Add to
0581139-1285-01PIN£1.58 Add to
0591139-1115-01O RING£1.79 Add to
0601139-1127-01NUT£3.40 Add to
0611139-1404-01DIFFERENTIAL GEAR KIT£61.56 Add to
0621139-1258-01FINAL GEAR£92.95 Add to
0631139-1255-01COLLAR£5.46 Add to
0641139-1256-01REDUCTION SHAFT£14.69 Add to
0651139-1398-01WASHER£5.21 Add to
0671139-1361-01FINAL PINION GEAR£25.15 Add to
0681139-1344-01AXLE SHAFT LH L=285mm£79.25 Add to
0691139-1345-01AXLE SHAFT RH L=424mm£98.40 Add to
0701139-1078-01THRUST WASHER£10.36 Add to
0711139-1163-01RING£1.79 Add to
0721139-1080-01SEAL 19*32*8£11.32 Add to
0731139-1164-01BUSH£3.15 Add to
0751139-1260-01BRAKE SHOE£2.18 Add to
0761139-1261-01BRAKE ARM£10.03 Add to
0771139-1320-01BRAKE SHAFT£47.74 Add to
0781139-1411-01RETURN SPRING£9.22 Add to
0791139-1264-01BRAKE ACTUATOR£5.60 Add to
0801139-1282-01PIN£5.03 Add to
0811139-1114-01O RING£4.80 Add to
0831139-1248-01SPLINE COLLAR£3.96 Add to
0841139-1469-01PULLEY£94.00 Add to
0851134-4190-01FAN£22.35 Add to
0861139-1266-01LOCK WASHER£1.79 Add to
0871139-1149-01CIRCLIP£1.58 Add to
089A1139-1414-01BUSH (19.05)£4.35 Add to
0951139-1279-01PIN£1.58 Add to
0991139-1103-01SEAL WASHER£6.31 Add to
1001139-1733-01FLANGE BOLT M8 x 12£1.50 Add to
1011139-1306-01ADAPTOR£4.78 Add to
1021139-1276-01WASHER£5.32 Add to
1991139-1508-01THRUST BEARING KIT£58.10 Add to
2001139-1403-01SEAL KIT£184.24 Add to