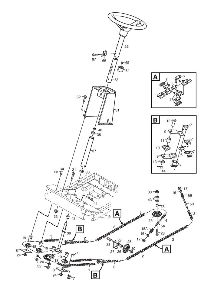
Steering

Steering assembly details for Stiga Park Pro 16 4WD (13-6241-13) 2007 model

Parts list

Match the number with the image on the left and click "Add" button to add the item to your basket

Please note, that the prices are for individual items

Items might appear more than once on the drawing, please check and adjust the quantity you require.

RefNoDescriptionPrice
001187000355/0STEERING CHAIN 129 LINCS (2008-08)£31.99 Add to
002187000358/0STEERING CHAIN 35 LINKS£12.17 Add to
003187000352/1STEERING CHAIN 41 LINKS£27.04 Add to
004187000359/0STEERING CHAIN 47 LINKS PARK NICKEL£27.17 Add to
005A1134-3550-01END NIPPLE [L=110]£18.53 Add to
005B1134-3550-02END NIPPLE [L=90]£18.27 Add to
006137510324/1STEERING CHAIN CONNECTION PIN£7.50 Add to
007187060100/1STEERING CHAIN LOCK£7.62 Add to
0081134-5652-01ATTACHMENT PLATE£5.46 Add to
0091134-5651-01BRACKET£4.35 Add to
0101134-2816-01SPROCKET£10.77 Add to
0111134-0041-02BUSH£10.09 Add to
0121134-4817-01PIN£12.96 Add to
013112521360/0WASHER M10 10.5 x 20 x 2£2.06 Add to
0149599-0054-02SPLIT PIN£2.32 Add to
015A1134-3817-01COMPRESSION SPRING£12.96 Add to
015B1134-3817-02COMPRESSION SPRING£12.68 Add to
0169699-0090-02WASHER 8.4 x 18 x 1.5£2.32 Add to
017112155000/0LOW SELF-LOCKING NUT M8£2.06 Add to
0181134-2816-01SPROCKET£10.77 Add to
0191134-5653-01SPACER£9.14 Add to
020112521360/0WASHER M10 10.5 x 20 x 2£2.06 Add to
021112692395/2SCREW M10 x 60£3.49 Add to
0229739-1031-22NUT M10£2.32 Add to
0239897-1060-12SCREW M10 x 60£3.28 Add to
0249731-1031-22LOCK NUT M6MF M10£2.47 Add to
0251134-3547-01SPROCKET£12.96 Add to
0261134-0041-01BUSH£9.41 Add to
0271134-0046-00BRACKET£2.14 Add to
0289997-1040-16SCREW M6S 10 x 40£7.23 Add to
029112521360/0WASHER M10 10.5 x 20 x 2£2.06 Add to
0309739-1031-22NUT M10£2.32 Add to
033112293201/0HEXAGON NUT M8 WITH EXAGONAL FLANGE£2.06 Add to
0371134-3085-01STEERING COLUMN,LOWER£46.61 Add to
0389549-0017-00BALL BEARING£12.14 Add to
0391134-5691-01STEERING ROD£94.13 Add to
0409695-0011-00WASHER 16 x 22 x 1£2.47 Add to
0419893-0616-16SCREW M6 x 16£2.47 Add to
0421134-2837-03SPACER£11.46 Add to
043112521360/0WASHER M10 10.5 x 20 x 2£2.06 Add to
0521134-5173-01STEERING WHEEL£170.61 Add to
0631134-5216-01INNER STEERING TUBE£87.50 Add to
0641134-5177-01SLIDE COLLAR£13.64 Add to
0659710-0631-12SQUARE NUT£3.55 Add to
0661134-4481-02WING NUT£6.14 Add to
067112674550/0SCREW TE M6 x 30£2.06 Add to