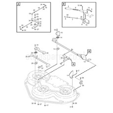
Assembly List For Stiga 2010 Model 13-2938-43 PARK 125 COMBI PRO DECK
Fantastic service, and prompt delivery. Thanks guys
Nick Berry
23/10/2025
Great quality tyres which replaced the original (32 year old!) tyres on my Countax K18. Best pricing I could find online.
Brilliant, speedy service from World Of Mowers. Thanks.
Craig Richardson
23/10/2025
Easy to source and order. Arrived in good time. All fitted and working well.
Thanks
Dave Adams
23/10/2025
A five star rating for World of Mowers for excellent service and delivery of parts for my Mountfield SP414 mower. I am not particularly 'handy', but this is the second time that WOM have enabled me to get my mower working again, at a cost of just a few pounds.
My machine must be about 10 years old and yet all parts are still available from WOM and easily identified from their diagrams. My first repair cost be a few pounds for a Carboreter (?) spring. The second for a plastic holder for the pull cable. Both jobs were accomplished in a few minutes and left me feeling good.
Well done World of Mowers.
Peter Graham
22/10/2025
All our prices include VAT