FRAME - FROM S/N 23DA3RON002449

FRAME - FROM S/N 23DA3RON002449 assembly details for Stiga TORNADO 398E (2T0660481/ST2) 2023 model

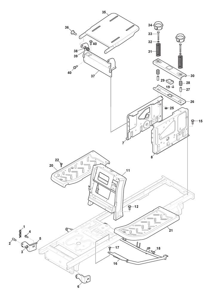
Parts list

Match the number with the image on the left and click "Add" button to add the item to your basket

Please note, that the prices are for individual items

Items might appear more than once on the drawing, please check and adjust the quantity you require.

RefNoDescriptionPrice
001124487998/0R CLIP D=2£2.06 Add to
002125510169/1BONNET PIN (ROUND VERSION)£3.15 Add to
003112155000/0LOW SELF-LOCKING NUT M8£2.06 Add to
004112735599/0SELF-TAPPING SCREW M6 x 16£2.06 Add to
005325547471/0R/H HOOD SUPPORT PLATE£7.10 Add to
006325547473/0L/H HOOD SUPPORT PLATE£7.10 Add to
007325785331/2RIGHT SEAT SUPPORT£30.68 Add to
008325785333/2LEFT SEAT SUPPORT£33.48 Add to
011382785313/3E-C STEERING COLUMN SUPPORT£111.72 Add to
012125943009/0HEX-HEAD SCREW M8 x 1.25£2.06 Add to
015125943009/0HEX-HEAD SCREW M8 x 1.25£2.06 Add to
016382785197/1FOOTBOARD SUPPORT SD 98 HYDRO BP£59.99 Add to
017125943009/0HEX-HEAD SCREW M8 x 1.25£2.06 Add to
018125943009/0HEX-HEAD SCREW M8 x 1.25£2.06 Add to
019112728697/0SELF-TAPPING SCREW TORX K50 x 16£2.06 Add to
020325500050/2RIGHT FOOTBOARD MP/SD (PLASTIC)£15.88 Add to
021325500051/2LEFT FOOTBOARD MP/SD (PLASTIC)£15.88 Add to
022112735599/0SELF-TAPPING SCREW M6 x 16£2.06 Add to
025112293201/0HEXAGON NUT M8 WITH EXAGONAL FLANGE£2.06 Add to
026325820109/1SEAT SUPPORT£9.39 Add to
027125160048/0SPACER£2.32 Add to
028125430263/0SEAT SWITCH SPRING£1.79 Add to
029325785379/1SEAT MICRO SUPPORT£2.06 Add to
030325820113/0SEAT SWITCH SUPPORT BAR£10.82 Add to
031125430264/1SPRING£10.61 Add to
032112521350/0WASHER M8 8.4 x 16 x 1.6£2.06 Add to
033112691400/0HEX-HEAD SCREW M8 X 50£1.76 Add to
034325600148/0PROTECTIVE CAP£2.67 Add to
035382547061/1SEAT PLATE ASSEMBLY£38.44 Add to
036122524970/3SEAT FULCRUM PIN FROM S/N 88153£2.06 Add to
037382820151/3SEAT SUPPORT ASSEMBLY£22.21 Add to
038112155010/0SELF-LOCKING NUT M8 A-LOK ACC.6S£2.47 Add to
039118203854/0NUT CAP M8 [BLACK]£2.06 Add to
040125943009/0HEX-HEAD SCREW M8 x 1.25£2.06 Add to