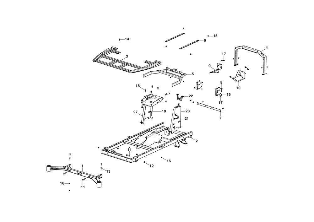
FRAME

FRAME assembly details for Stiga GYRO 900E (2F7064705/ST1) 2023 model

Parts list

Match the number with the image on the left and click "Add" button to add the item to your basket

Please note, that the prices are for individual items

Items might appear more than once on the drawing, please check and adjust the quantity you require.

RefNoDescriptionPrice
001387785299/0SUPPORT FRAME ASSEMBLY [YELLOW]£592.40 Add to
002387800067/0FRAME ASSEMBLY [BLACK]£1,052.23 Add to
003387800071/0FOOTREST FRAME ASSEMBLY£513.58 Add to
004387773617/0R/H UPPER BRACKET GYRO 900 BLACK£157.55 Add to
005387800069/0UPPER FRAME ASSEMBLY£474.17 Add to
006337785175/0RH-LH BATTERY SLIDE SUPPORT GYRO 900 E-C£36.41 Add to
007337774251/0BATT.PANEL SUPPORT BRACKET GYRO 900£23.40 Add to
008337785173/0RH-LH VMS SUPPORT GYRO 900 E-COAT£34.31 Add to
009387785307/0R/H ELECTRIC.COMPON.SUPPORT GYRO 900£32.86 Add to
010387785309/0L/H ELECTRIC SUPPORT£32.86 Add to
011112692395/2SCREW M10 x 60£3.49 Add to
012112156602/0LOW SELF-LOCKING NUT M10£1.79 Add to
013112793102/0SCREW TE M8x20 UNI 5739 ACC.8.8£2.06 Add to
014112800815/0SCREW TE FL M8 x 16£2.06 Add to
0159893-0616-16SCREW M6 x 16£2.47 Add to
016112155000/0LOW SELF-LOCKING NUT M8£2.06 Add to
0171134-4176-01CLIP£5.19 Add to
0199959-0612-16SCREW M6SF M6 x 12 TL£1.79 Add to
021337774257/0BRACKET£6.97 Add to
022337774259/0SUPPORT BRACKET£10.04 Add to
023387785303/0L/H DRIVER SUPPORT ASSY GYRO 900 E-C£106.31 Add to
024387785301/0R/H DRIVER SUPPORT ASSY GYRO 900 E-C£106.31 Add to
025387785291/0LEFT ARM REST ASSEMBLY£177.28 Add to
026387800065/0FRAME ARM REST ASSEMBLY£373.66 Add to
027112691400/0HEX-HEAD SCREW M8 X 50£1.76 Add to
028137038016/0BUSH£5.53 Add to
029112583500/0WASHER M8 UNI 1751 WZ£2.06 Add to
030112155000/0LOW SELF-LOCKING NUT M8£2.06 Add to