Chassis

Chassis assembly details for Stiga Park 340 PWX (2F6130645/ST1) 2021 model

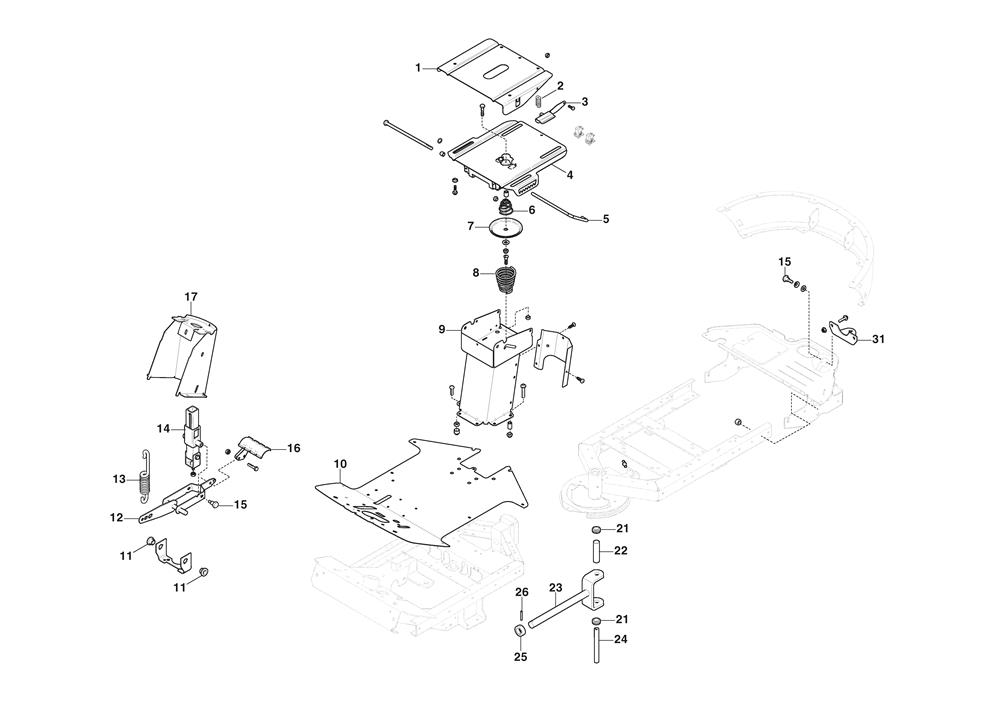
Parts list

Match the number with the image on the left and click "Add" button to add the item to your basket

Please note, that the prices are for individual items

Items might appear more than once on the drawing, please check and adjust the quantity you require.

RefNoDescriptionPrice
0011134-6090-01UPPER SLIDE PLATE£99.76 Add to
0021134-3262-01SPRING£8.73 Add to
0031134-6073-01HANDLE ASSEMBLY£41.16 Add to
0041134-6068-01LOWER SLIDE PLATE£114.96 Add to
0051134-5179-01CATCH ROD£13.77 Add to
0061134-5302-01SPRING£8.87 Add to
0071134-5299-01PUSH PLATE£17.86 Add to
009387785275/0SEAT SUPPORT ASSEMBLEY [BLACK]£114.96 Add to
010387507505/0FOOTBOARD£187.14 Add to
0111134-2684-01BUSH£7.10 Add to
012387256055/0LIFT LEVER ASSEMBLY£94.31 Add to
0134231-0013-00SPRING£8.87 Add to
0141134-4945-01LIFT CATCH ASSEMBLY£124.29 Add to
0151134-0240-00SCREW£9.14 Add to
016387500013/0LIFTING DECK PEDAL£26.46 Add to
017387785243/0STEERING COLUMN COVER£157.20 Add to
0219547-0001-00BEARING£24.95 Add to
0221134-5705-01SPACER£19.36 Add to
0241134-5988-01CENTRE SHAFT£22.76 Add to
0251134-0031-00PIVOT SHAFT STOP£24.95 Add to
0269595-0262-00LOCATING PIN£2.06 Add to
0311134-5512-01TOWING PLATE£20.72 Add to