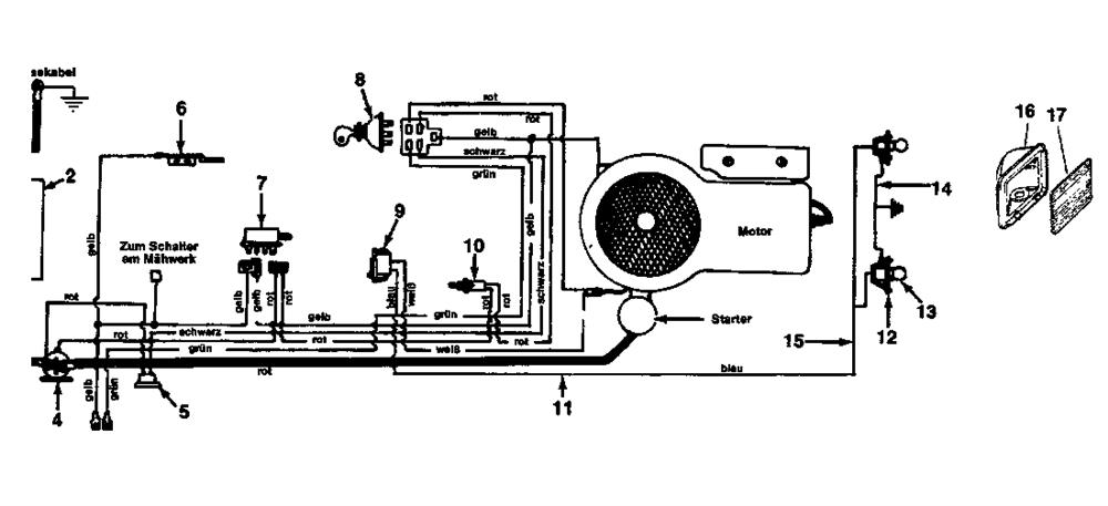
Parts list
Match the number with the image on the left and click "Add" button to add the item to your basket
Please note, that the prices are for individual items
Items might appear more than once on the drawing, please check and adjust the quantity you require.
| Ref | No | Description | Price | |
|---|
| 002 | EPB3117 | BATTERY 12N14-3A (DRY) | £52.41 | Add to |
| 004 | 725-0771 | RELAY | £40.54 | Add to |
| 005 | 753-0685 | KIT CIRCUIT BREAKER (OBSOLETE) (OBSOLETE) | N/A | |
| 006 | 753-0580 | NO LONGER AVAILABLE | N/A | POA |
| 008 | 725-0267B | IGNITION SWITCH | £25.04 | Add to |
| 009 | 725-0634 | SW:ROCKER | £19.29 | Add to |
| 010 | 725-0577 | SICHERUNGSSCHALTER 090.90.040 | £26.54 | Add to |
| 012 | 725-1650 | SOCKET LAMP TWIST LOCK (OBSOLETE) | N/A | |
| 013 | 725-0963 | BULB | £7.18 | Add to |
| 014 | 725-0916A | WIRE | £7.63 | Add to |
| 015 | 725-1243 | WIRE | N/A | POA |
| 016 | 731-0705 | HSG:HDLT | £27.93 | Add to |
| 017 | 731-0706 | LENS-HEADLAMP-SQ | £12.42 | Add to |
First class service welcome a well run mower parts department
Vernon Simmons
22/05/2026
Gaskets and fuel filter for my Mountfield mower ordered Sunday, arrived Tuesday. Great service.
Trevor Thornton
22/05/2026
Very happy with the service provided. I rang in order to check that I was ordering the correct part before placing my order online and the person that I was spoke to was extremely helpful and knowledgeable. Delivery was very quick. I'd be happy to use this company again if the need should arise.
Rod Nickerson
22/05/2026
All good. Parts as described and perfect fit and working well. Thank you.
Alan Prangnell
22/05/2026
All our prices include VAT