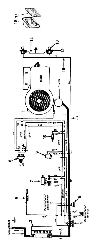
Wiring diagram Vanguard

Parts list

Match the number with the image on the left and click "Add" button to add the item to your basket

Please note, that the prices are for individual items

Items might appear more than once on the drawing, please check and adjust the quantity you require.

RefNoDescriptionPrice
001725-0979WIRE£10.72 Add to
002725-0771RELAY£40.54 Add to
003725-0421WIRE£12.21 Add to
004725-0771RELAY£40.54 Add to
005753-0685KIT CIRCUIT BREAKER (OBSOLETE) (OBSOLETE)N/A
006732-0420NO LONGER AVAILABLEN/A POA
007725-0465ASWITCH SAFETY RELEASE 090.65.421£30.37 Add to
008725-0267BIGNITION SWITCH£25.04 Add to
009725-0634SW:ROCKER£19.29 Add to
010725-0577SICHERUNGSSCHALTER 090.90.040£26.54 Add to
012725-1650SOCKET LAMP TWIST LOCK (OBSOLETE)N/A
013725-0963BULB£7.18 Add to
014725-0916AWIRE£7.63 Add to
015725-1243WIREN/A POA
016731-0705HSG:HDLT£27.93 Add to
017731-0706LENS-HEADLAMP-SQ£12.42 Add to