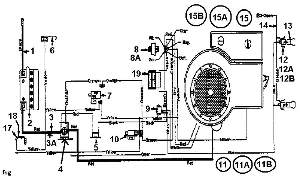
Wiring diagram single cylinder

Parts list

Match the number with the image on the left and click "Add" button to add the item to your basket

Please note, that the prices are for individual items

Items might appear more than once on the drawing, please check and adjust the quantity you require.

RefNoDescriptionPrice
001725-0976ANO LONGER AVAILABLEN/A POA
002EPB3117BATTERY 12N14-3A (DRY)£52.41 Add to
003725-0926NO LONGER AVAILABLEN/A POA
004725-1426ASOLENOID£24.30 Add to
005753-0685KIT CIRCUIT BREAKER (OBSOLETE) (OBSOLETE)N/A
006753-0580NO LONGER AVAILABLEN/A POA
007725-0819ASAFETY SWITCH£38.31 Add to
008725-0267BIGNITION SWITCH£25.04 Add to
009725-0634SW:ROCKER£19.29 Add to
010725-3169ASWITCH-SAFETYN/A POA
011725-1475HARNESS (B&S)£218.97 Add to
012725-1649SOCKET HEADLIGHT£6.92 Add to
013725-0963BULB£7.18 Add to
014725-0916AWIRE£7.63 Add to
015629-0084WIRE HARNESS£11.78 Add to
016725-0222USE 725-1672£81.69 Add to
017725-1303SW:OUTER SEAT SPRG£3.26 Add to
018725-1439SW:INNER SEAT SPRG£8.44 Add to
019725-0925AMMETER 620£30.37 Add to
03A725-0926NO LONGER AVAILABLEN/A POA
08A725-0201IGNITION KEY£6.47 Add to
11A629-0031WIRE HARNESS£105.16 Add to
11B629-0032WIRE HARNESSN/A POA
12A725-1650SOCKET LAMP TWIST LOCK (OBSOLETE)N/A
12B725-1651LAMP SOCKET, LONG£24.91 Add to
15A629-0086HARN ASM: 400: HEADLIGHT£42.23 Add to
15B629-0051WIRE HARNESS£24.29 Add to