Parts list
Match the number with the image on the left and click "Add" button to add the item to your basket
Please note, that the prices are for individual items
Items might appear more than once on the drawing, please check and adjust the quantity you require.
| Ref | No | Description | Price | |
|---|
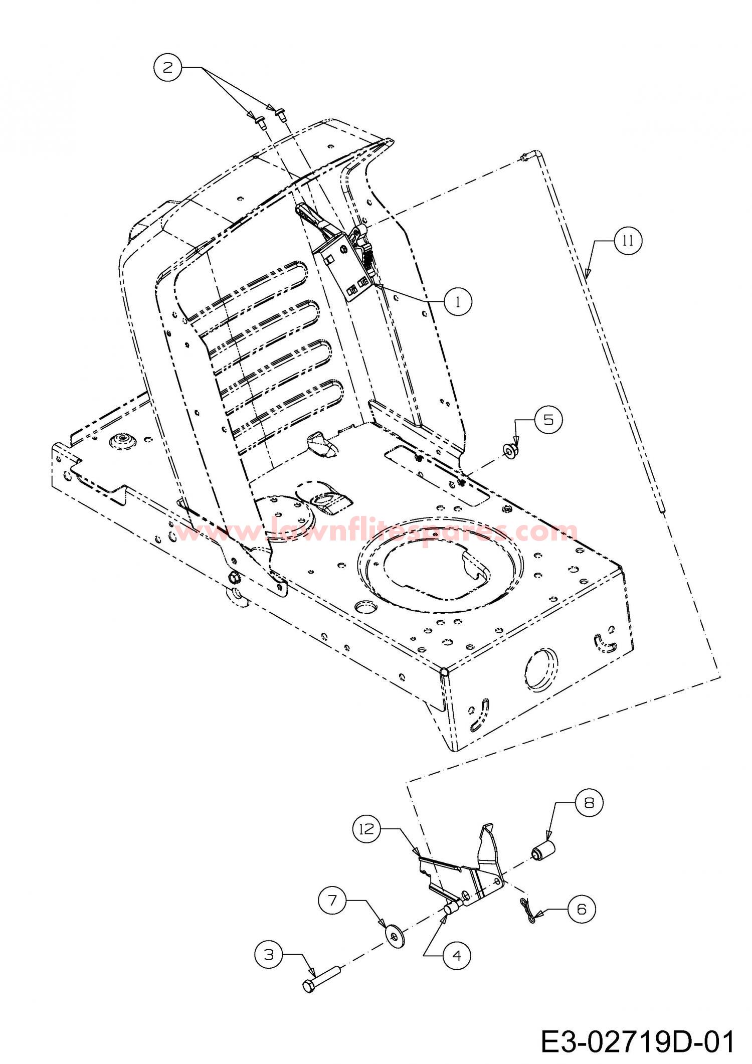
| 001 | 683-04216637 | CONT ASM 7 SPD | £22.71 | Add to |
| 002 | 710-04483 | SCR:TT:1/4-20:0.500 PANTRXI | £11.98 | Add to |
| 003 | 710-3144 | SCREW | £3.28 | Add to |
| 004 | 711-0736 | FERRULE-ADJ:1/4-20 x 1.00 | £15.86 | Add to |
| 005 | 712-04065 | NUT | £4.02 | Add to |
| 006 | 714-04040 | PIN-COTTER | £4.38 | Add to |
| 007 | 736-0133 | WASH:FLAT:.411 X 1.25 X .100 | £3.87 | Add to |
| 008 | 750-04465 | SPCR:FLG:.390X.671X1.095 | £8.85 | Add to |
| 011 | 747-04430 | ROD:CONT:SPEED SELECTOR | £21.20 | Add to |
| 012 | 783-07369ZW | BRKT:LATCH:SPD:NO RMC 783-04903 | N/A | POA |
All good. Used before.
Paul Bryan
26/03/2026
Excellent service easy to read ordering system
Michael j Hunter
26/03/2026
Great parts, great service, definitely recomanded
enzo palazzoni
26/03/2026
First rate service and price , new blade boss fits perfectly and fast delivery, mower was back working in a couple of days
David Livingstone
26/03/2026
All our prices include VAT