MTD008272

Parts list

Match the number with the image on the left and click "Add" button to add the item to your basket

Please note, that the prices are for individual items

Items might appear more than once on the drawing, please check and adjust the quantity you require.

RefNoDescriptionPrice
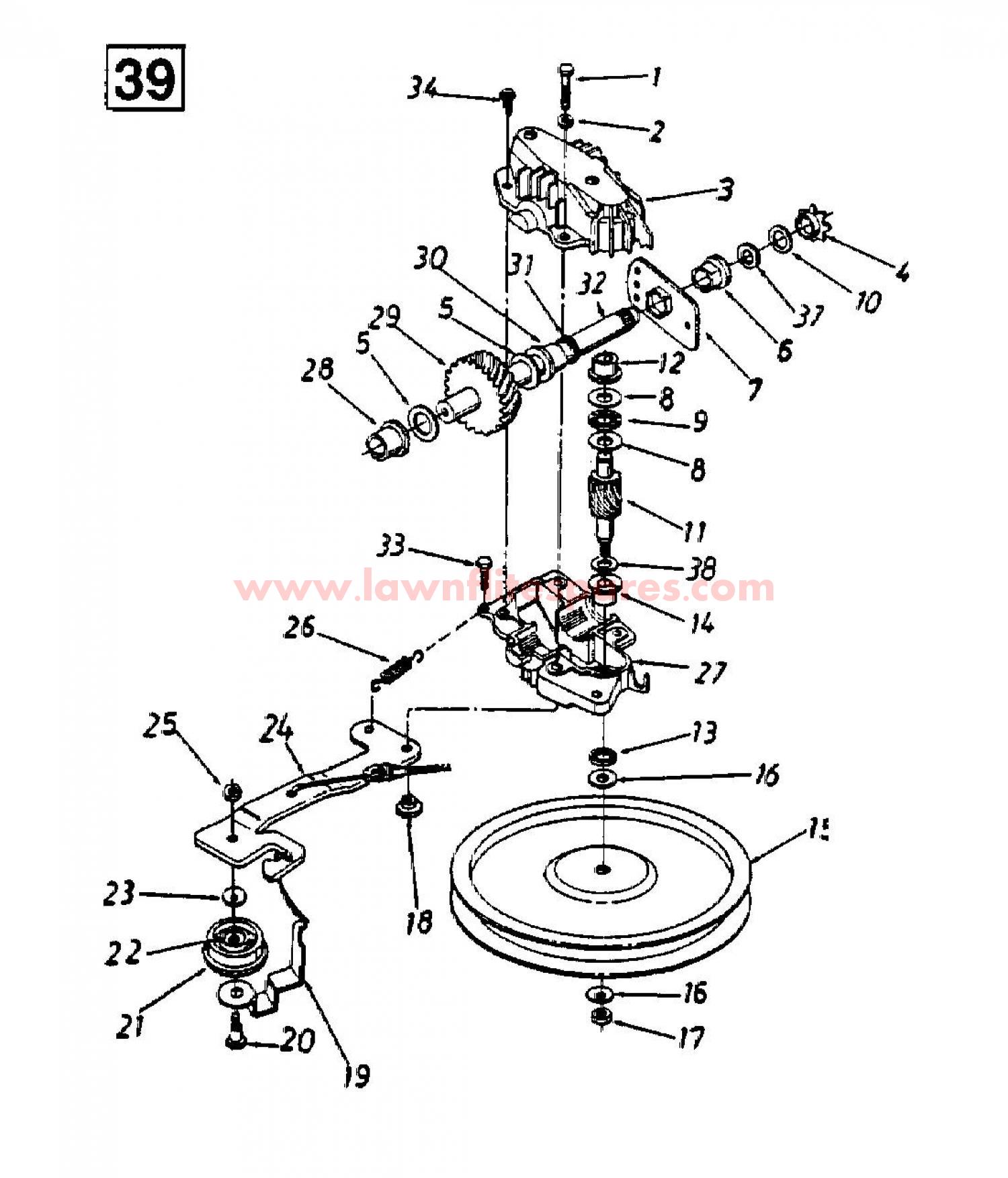
001710-1062BOLT£11.98 Add to
002736-0329L. WASHER£3.26 Add to
003618-0133UPPER HSG. HALF ,INCL. REF.#12£33.62 Add to
004713-0438SPROCKET-6 TOOTH£24.11 Add to
005736-0773WASH:FLAT:16x22x1 DIN 988£2.93 Add to
006741-0324ABEARING£5.54 Add to
007782-0031APLATE£10.69 Add to
008736-0314WASHER-THRUST£2.97 Add to
009741-0479THRUST BEARING: .375 X .812£19.68 Add to
010736-3024WASH:FL:.469 X .750 X .06£2.90 Add to
011717-1433SHAFT-PINION 10 TEETH£48.52 Add to
012748-0208AFLANGE BEARING£13.90 Add to
013721-0329OIL SEAL: .500 X .687 X .094£22.54 Add to
014748-0373NO LONGER AVAILABLEN/A POA
015756-0656V-BELT PULLEY£29.82 Add to
016736-0425BELLWASHER£3.31 Add to
017712-3045NUT HEX JAM£3.16 Add to
018738-0440COLLAR£8.01 Add to
019782-7569BELT KEEPER£12.00 Add to
020738-0826SHOULDER BOLT£6.70 Add to
021656-0008FLAT IDLER PLASTIC£34.26 Add to
022741-0556NEEDLE BEARING£23.84 Add to
023736-0270BELL WASHER£3.91 Add to
024682-0054BRACKET PIVOT 782-7570£56.12 Add to
025712-0138NUT£3.03 Add to
026732-0357AEXTENSION SPRING£9.58 Add to
027618-0132HSG-LOWER-TRANS£50.80 Add to
028741-0415FLANGE BEARING£15.90 Add to
029717-1432GEAR-HELICAL 34 TEETH£66.20 Add to
030741-0414FLANGE BEARING£9.01 Add to
031721-0213SEAL:.625 .812X.094£13.29 Add to
032711-1019AXLE£52.05 Add to
033710-0589SET SCREW£2.97 Add to
034710-0651SCR:B:#10-16:0.625:HEX 710-0436£10.32 Add to
037736-0369WASH:THRST:.508x1.000x.020£2.97 Add to
038736-0520WASH:THRST:.504 x .700 x .030£2.90 Add to
039618-0136TRANSMISSION£198.26 Add to