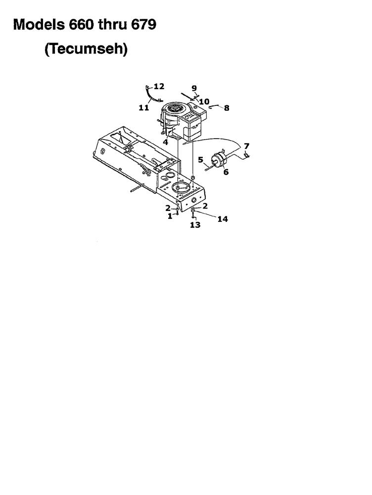
Engine accessories (2)

Parts list

Match the number with the image on the left and click "Add" button to add the item to your basket

Please note, that the prices are for individual items

Items might appear more than once on the drawing, please check and adjust the quantity you require.

RefNoDescriptionPrice
001710-1007SCREW HEX HD TAP£4.14 Add to
002736-0247F.I. WASH£8.70 Add to
003750-0965SPACER-PULLEY£7.48 Add to
004710-0323SCREW£3.70 Add to
005738-0636SHD SCR. 7/16 DIA X 3 5/8£10.13 Add to
006751-0443AMUFFLER£100.43 Add to
007721-0208EXHAUST GSKT 10 & 11 HP£5.80 Add to
008726-0197TIE:CBL:PANDUIT SST-1M£4.11 Add to
009710-0899ASCR:#10-32:.62:HXSEMS:GR5.1£3.20 Add to
010751B221535CLAMP-CASING£3.00 Add to
011751-10349-54FUEL LINE HOSE BLACK£25.38 Add to
012726-0205HOSE CLAMP 1/2 INCH DIA.£3.44 Add to
013710-1035SCREW:TTSEMS3/8-16:2.500HXLWSH£7.13 Add to
014750-0965SPACER-PULLEY£7.48 Add to