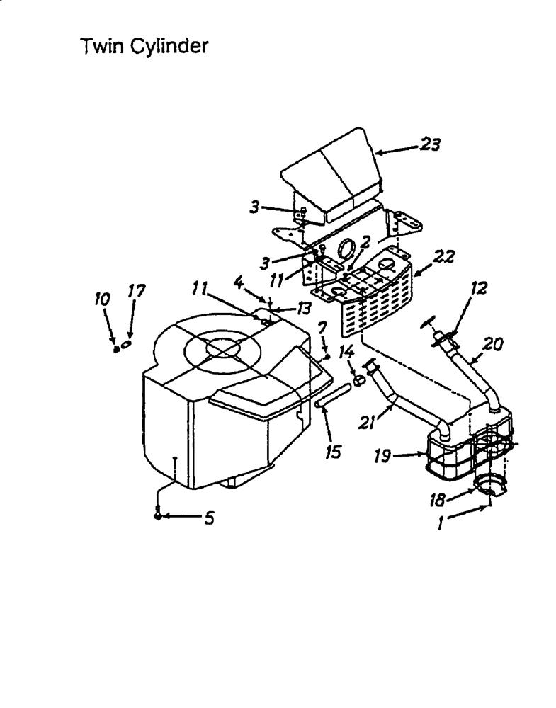
Engine accessories (1)

Parts list

Match the number with the image on the left and click "Add" button to add the item to your basket

Please note, that the prices are for individual items

Items might appear more than once on the drawing, please check and adjust the quantity you require.

RefNoDescriptionPrice
001710-0148SCR:F:#8-32:0.375 HXINDWSH£3.58 Add to
002710-0599HEX TT SCREW 1/4-20£4.95 Add to
003710-0604ASCREW£3.62 Add to
004710-0779ASELF TAP SCREW£3.58 Add to
005710-1315SCR TT 3/8-16 1.250 HXINDWSH S£5.70 Add to
006710-3015SCREW HEX CAP£3.33 Add to
007712-0271NUT:SEMS:1/4-20£3.03 Add to
009721-0346EXHAUST GASKET B&S OPP TWN£16.91 Add to
010726-0205HOSE CLAMP 1/2 INCH DIA.£3.44 Add to
011726-0272CLAMP£2.98 Add to
012736-0329L. WASHER£3.26 Add to
013736-3067WASH:FL:.188X.437X.042£2.55 Add to
014737-0143CAP:DRAIN:3/8-18 NPT OIL£9.43 Add to
015737-0164PIPE:STRGT:3/8 NPT X 5.0 LG£16.56 Add to
017751-0535-26FUEL LINE£12.08 Add to
018751-0564BDEFLECTOR:MUFFLER£15.24 Add to
019751-0616BMFLR:DUAL INLET£139.86 Add to
020751-0623EXHAUST PIPE L.H. TWN OPP B+S£77.39 Add to
021751-0624EXHAUST PIPE R.H. TWN OPP B+S£77.39 Add to
022783-0320A-0637NO LONGER AVAILABLEN/A POA
023783-0357-0637NO LONGER AVAILABLEN/A POA