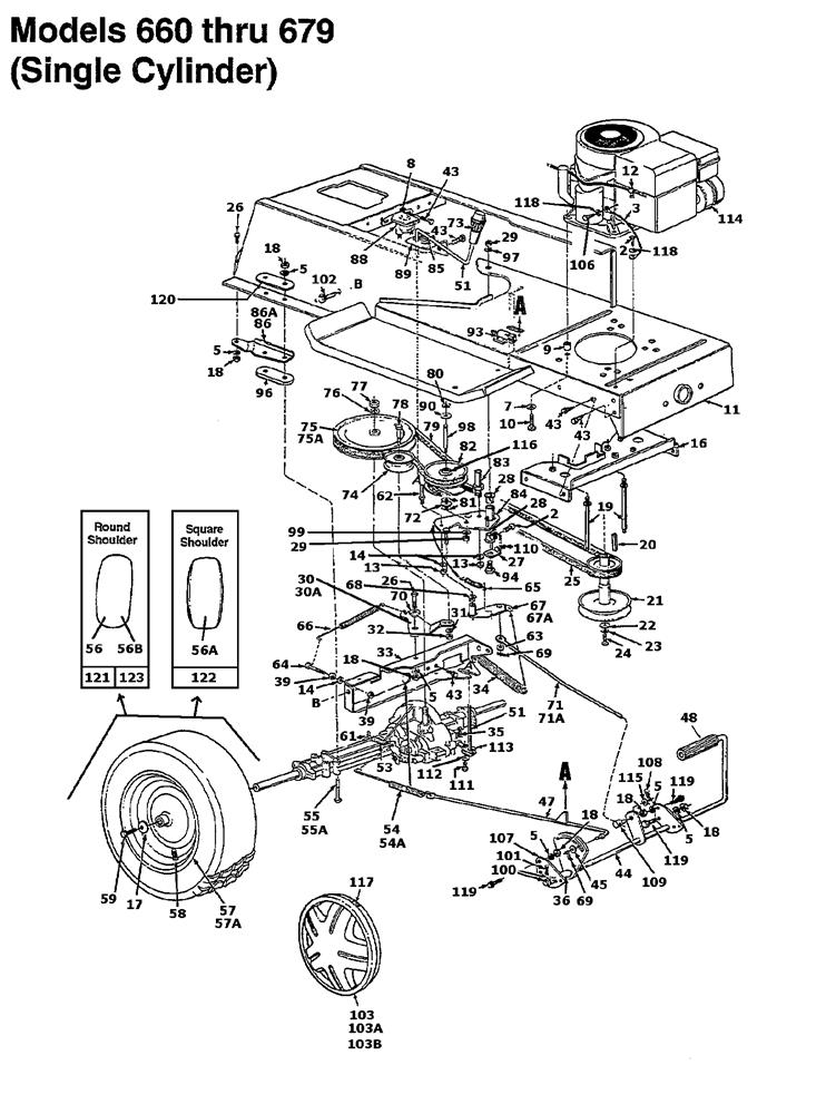
Drive system, Engine pulley, Pedal

Parts list

Match the number with the image on the left and click "Add" button to add the item to your basket

Please note, that the prices are for individual items

Items might appear more than once on the drawing, please check and adjust the quantity you require.

RefNoDescriptionPrice
002710-0726HEX SCREW AB 5/16-12:0.750£3.19 Add to
003725-0980WIRE£10.61 Add to
005736-0119LOCK WASHER 5/16£3.33 Add to
007736-0247F.I. WASH£8.70 Add to
008736-0222NO LONGER AVAILABLEN/A POA
009750-0965SPACER-PULLEY£7.48 Add to
010710-1007SCREW HEX HD TAP£4.14 Add to
011683-0065LOWER FRAME ASS'Y.£134.05 Add to
012726-0235SPEED CLIP£4.91 Add to
013712-0287NUT HEX£3.31 Add to
014736-0329L. WASHER£3.26 Add to
01617893AGUARD-BELT£40.39 Add to
017736-0242BELL WASHER£3.72 Add to
018712-3010NUT 5/16 x 18£2.77 Add to
019711-1239PIN£5.00 Add to
020714-0114SQUARE KEY£5.26 Add to
021753-0635NO LONGER AVAILABLEN/A POA
022736-0322FI-WASH£8.68 Add to
023736-0171WASHER£2.93 Add to
024710-0757HEX SCREW£7.96 Add to
025754-0280ABELT£70.95 Add to
026710-3008HEX BOLT£3.03 Add to
02717963BRACKET-BRG SHAFT£7.19 Add to
028741-0591FLANGE BEARING£3.44 Add to
029712-0241HEX NUT 3/8-24£2.79 Add to
030176431SNAP ROD£7.54 Add to
031736-0169L. WASHER£2.89 Add to
032712-0241HEX NUT 3/8-24£2.79 Add to
03317629ABRACKET-TRANS SUP£56.95 Add to
034732-0556SPRING EXTENSION 94 X 7.57 LG£21.82 Add to
035714-0149BCOTTER PIN£3.58 Add to
036750-0802SPCR:.640 ID X .76 OD X2.63 LG£3.20 Add to
039712-0138NUT£3.03 Add to
043710-0599HEX TT SCREW 1/4-20£4.95 Add to
04417715B-0637PEDAL ASSY-CLUTCH 17715B£82.90 Add to
045736-0264WASH:FLAT:.330 x.630x.0635£3.59 Add to
04717686ABRAKE ROD ASS'Y. 17686£26.29 Add to
048735-0239AFOOT PAD£8.75 Add to
05117705ROD:ASSY-SHIFT 375 DIA£28.06 Add to
053732-0264EXTENSION SPRING£10.47 Add to
054732-0413EXT SPRING£12.22 Add to
055710-0189HHCS:5/16-18:3.00:GR5:STD£4.62 Add to
056734-0294TIRE:18 X 6.5 X 8 SQ SH£125.82 Add to
057634-04174662RIM ASM-8.0X5.38 w/VALVE£78.95 Add to
058734-0255VALVE - TUBELESS AIR£7.02 Add to
059710-0627HEX SCREW£3.32 Add to
061732-0722ASPRING:BRAKE RETURN ANCHOR£8.39 Add to
062711-1000BELT KEEPER£9.71 Add to
063736-0275WASH:FLAT:.344 x .688 x.065£3.07 Add to
064710-0428NO LONGER AVAILABLEN/A POA
065732-0568SPRING EXTENSION£5.45 Add to
066732-0384EXT SPRING£15.79 Add to
06716554A-ZBRKT:VAR.SPD.TORQ ASSY-PAI 16554A£26.52 Add to
068741-0419FLANGE BEARING (OBSOLETE)N/A
069714-0111COTTER PIN£3.20 Add to
070748-0234SHOULDER SPACER£5.43 Add to
071747-0530ALINK-SPEED CONTROL£22.29 Add to
072741-0405NO LONGER AVAILABLEN/A POA
073720-0232KNOB:SHFT:1.60 OD X 1.56£6.72 Add to
074756-0643APUL IDLER FLAT 3.12£27.94 Add to
075656-0005PULLEY£67.94 Add to
076736-0427BELL:WASH:.567 x 1.125 x .06£3.31 Add to
077712-3035NUT:JAM:9/16-18:GRADE 5£3.59 Add to
078710-0539HHCS:3/8-24:1.75:GR5:STD£4.46 Add to
079754-0370VARIABLE SPEED BELT£47.70 Add to
080716-0114RING:RET:.56 DIA SHAFT£3.58 Add to
081736-0355WASHER£3.19 Add to
082717-0800APUL:DR:VARI SPD 5.06 DIA£236.50 Add to
083711-1000BELT KEEPER£9.71 Add to
08416354BNO LONGER AVAILABLEN/A POA
085732-0525COMP SPRING CLIP£3.13 Add to
08617668ABRKT:AXLE:RH 17668£48.47 Add to
088725-1426ASOLENOID£24.30 Add to
08917630GUIDE BRACKET, FRONT£9.58 Add to
090736-0414WASHER£5.00 Add to
093725-1657ASAFETY SWITCH£14.15 Add to
094738-0755NO LONGER AVAILABLEN/A POA
096748-0334TRANSAXLE SPACER .68£6.32 Add to
097736-0105BELL WASHER£3.33 Add to
098738-0569SHAFT V. PULLEY£39.36 Add to
099736-0331BELL WASHER£3.95 Add to
100736-0256WASHER:FL:.635 IDX.930 ODX.03£3.20 Add to
101714-0470COTTER PIN£5.07 Add to
102710-0604ASCREW£3.62 Add to
103734-1615HUBCAP 8" DIA OYSTER GRAY£28.68 Add to
103A734-1614HUB CAP BEIGE£25.27 Add to
103B734-1788AHUBCAP:8"DIA:RADYELLOW W/SPRIG£27.30 Add to
106710-0323SCREW£3.70 Add to
10717860-0637BRACKET-PEDAL 17860 (OBSOLETE)N/A
108714-0470COTTER PIN£5.07 Add to
109711-0198PIVOT BUSHING£12.12 Add to
110710-0376SCREW HEX CAP 5/16£9.02 Add to
111710-0195HEX BOLT£2.93 Add to
112736-0270BELL WASHER£3.91 Add to
11317707NO LONGER AVAILABLEN/A POA
115736-0140WASH:FLAT:.385 x.62 x.063£3.59 Add to
116741-0404BRG:NDL:.5625 IDx.7500x.5550£34.91 Add to
117727-0425ASPRING CLIP£2.98 Add to
118736-0607WASH:LOCK:5/16 EXT TOOTH£3.31 Add to
119710-0650SCREW£3.58 Add to
12017840TRANSAXLE BRACKET REINFORCE£14.44 Add to
121734-0592-GWHL:COMP:18 x 6.5 7£184.03 Add to
121A734-1675WHEEL ASSY W/TIRE£279.06 Add to
121B634-0104WHL:COMP:20.0x8.0x8.0:SQSH£234.33 Add to
30A17694ANO LONGER AVAILABLEN/A POA
54A732-0642NO LONGER AVAILABLEN/A POA
55A710-1068NO LONGER AVAILABLEN/A POA
56A734-1730TIRE-TUBELESS 2 734-1596£159.43 Add to
56B734-1730TIRE-TUBELESS 2 734-1596£159.43 Add to
57A634-04369662RIM ASM:COLOUR CUB BEIGE 634-0070£105.87 Add to
67A16352ANO LONGER AVAILABLEN/A POA
71A747-0512SPEED CONTROL LINK (548)£23.72 Add to
75A656-0004PULLEY£94.36 Add to
86A17669ABRKT:AXLE:LH 17669 (OBSOLETE) (OBSOLETE)N/A