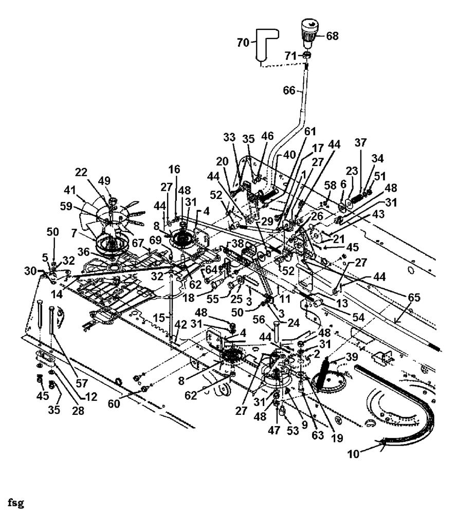
Drive system

Parts list

Match the number with the image on the left and click "Add" button to add the item to your basket

Please note, that the prices are for individual items

Items might appear more than once on the drawing, please check and adjust the quantity you require.

RefNoDescriptionPrice
001783-0535BRKT:PIVOT£47.54 Add to
002783-0426CLUTCH ARM£135.21 Add to
003783-0425BRKT:NEUT: RTN£81.42 Add to
004783-0424A637BRKT: IDLR 783-0424A£61.98 Add to
005783-0098BRACKET-BYPASS ADJ£4.14 Add to
006761-0196WASH:FRICT:.38X1.13X.12 THK£7.19 Add to
007756-1036PUL:V TYP:TRANS£126.51 Add to
008756-1035A3 V GROOVE IDLER£52.40 Add to
009756-0981BPUL:IDLR:FLAT 2.75 ODN/A POA
010754-0125ABELT£122.85 Add to
011750-1081TUBE:.630 X .750 X 10.0" LG£12.97 Add to
012748-0334TRANSAXLE SPACER .68£6.32 Add to
013747-0968ROD-BRAKE£18.02 Add to
014747-0961link rod£10.44 Add to
015747-0960LVR:ACTR:BYPASS£15.13 Add to
016747-0952ROD:TRANS£29.66 Add to
017747-0949ROD-SHIFT£33.82 Add to
018738-0430SHLD-SCR: .50 x .685:3/8-16£8.01 Add to
019738-0347SPACER£4.16 Add to
020738-3024NO LONGER AVAILABLEN/A POA
021736-3027WASH:FL:.531 X 1.75 X .090£3.82 Add to
022736-0921WASHER:LOCK:1/2:REGULAR DUTY£2.98 Add to
023736-0331BELL WASHER£3.95 Add to
024736-0329L. WASHER£3.26 Add to
025736-0326FLAT WASHER :510*1.00*125£3.69 Add to
026736-0300WASHER£2.81 Add to
027736-0278WASH:FLAT:.330x.687x.030:HT£3.20 Add to
028736-0264WASH:FLAT:.330 x.630x.0635£3.59 Add to
029736-0232WAVE WASHER£3.69 Add to
030736-0222NO LONGER AVAILABLEN/A POA
031736-0169L. WASHER£2.89 Add to
032736-0142WASHER:FLAT:.281 x.50 x.063£3.59 Add to
033736-0141WASH:SPR:.440 x.750 x.015£3.39 Add to
034736-0140WASH:FLAT:.385 x.62 x.063£3.59 Add to
035736-0119LOCK WASHER 5/16£3.33 Add to
036732-0729CIRCLIP£2.98 Add to
037732-0718COMPR.SPRING:.62OD X 1.19 LONG£5.52 Add to
038732-0716DSPRING EXTENSION£14.42 Add to
039732-0478EXT. SPRING DECK CONTROL£16.63 Add to
040732-0429ASPRING EXTENSION£8.73 Add to
041731-1449AFAN:BLADE:10£22.24 Add to
042714-0127PIN:COT:1/16 X .75£2.79 Add to
043714-0115COTTER PIN£3.42 Add to
044714-0111COTTER PIN£3.20 Add to
045714-0104PIN INTERNAL COTTER£2.78 Add to
046712-3010NUT 5/16 x 18£2.77 Add to
047712-3000NUT:HEXLK:3/8-16 GR.B CTRLK£3.20 Add to
048712-0798HEX. NUT£7.61 Add to
049712-0333NUT:HEX:1/2-20:GR2£3.20 Add to
050712-0287NUT HEX£3.31 Add to
051712-0116HEX NUT£3.96 Add to
052711-1171FRL:5/16-24 RH X .312£17.35 Add to
053711-1155FRL:5/16-18X.312:HT.TR.£10.93 Add to
054711-0677FERRULE:5/16-18 x.312 DIA£13.47 Add to
055711-0332CLEVIS PIN (RED)£13.13 Add to
056710-3200HHCS:3/8-16:2.25:GR5:SPEC£19.98 Add to
057710-3056HHCS:5/16-18:3.25:GR5:STD£9.51 Add to
058710-1189NO LONGER AVAILABLEN/A POA
059710-3007SCR:TT:#12-24:0.375 HXINDWSH£3.59 Add to
060710-0607SELF TAP SCREW£4.71 Add to
061710-0599HEX TT SCREW 1/4-20£4.95 Add to
062710-0520SCREW HEX CAP 3/8 (RED)£3.51 Add to
063710-0514HEX BOLT£3.81 Add to
064710-0151HHCS:3/8-24:2.00:GR5:SPEC£4.84 Add to
065647-0027BRAKE ROD ZINED£27.33 Add to
066647-0026NO LONGER AVAILABLEN/A POA
067618-0262NO LONGER AVAILABLEN/A POA
068720-0218KNOB£26.70 Add to
069720-0238CAP:DIPPED:END:.250 DIA ROD£3.51 Add to
070631-0009AKNOB:SHIFTER:3/8-16 THRD£9.83 Add to
071712-3008NUT:JAM:3/8-16:GR5£3.26 Add to
66A712-3008NUT:JAM:3/8-16:GR5£3.26 Add to
68A631-0009AKNOB:SHIFTER:3/8-16 THRD£9.83 Add to