Parts list
Match the number with the image on the left and click "Add" button to add the item to your basket
Please note, that the prices are for individual items
Items might appear more than once on the drawing, please check and adjust the quantity you require.
| Ref | No | Description | Price | |
|---|
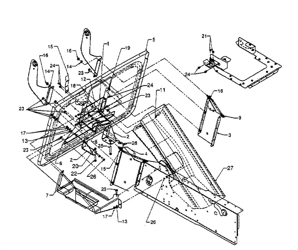
| 001 | 783-0567 | COVER PLATE:BACK | £41.36 | Add to |
| 002 | 783-0541 | BRKT:TRANS SUPT | £67.66 | Add to |
| 003 | 783-0539A | PLT:HITCH:EXT.LH 783-0539 | £28.74 | Add to |
| 004 | 783-0538A637 | EXTERIOR HITCH PLATE R.H. 783-0538 | £32.36 | Add to |
| 005 | 783-0531C637 | NO LONGER AVAILABLE | N/A | POA |
| 006 | 783-0234 | TRAY: BAT | £74.29 | Add to |
| 007 | 783-0226B637 | HITCH PLATE 783-0226B | £56.67 | Add to |
| 008 | 747-0966 | CVR:BELT | £21.22 | Add to |
| 009 | 747-0617 | NO LONGER AVAILABLE | N/A | POA |
| 010 | 747-0616 | NO LONGER AVAILABLE | N/A | POA |
| 011 | 738-0952A | SHOULD. SCREW .375x.125:1/4-20 | £3.70 | Add to |
| 012 | 736-0329 | L. WASHER | £3.26 | Add to |
| 013 | 736-0169 | L. WASHER | £2.89 | Add to |
| 014 | 736-0119 | LOCK WASHER 5/16 | £3.33 | Add to |
| 015 | 732-0750A | SPACER: SWITCH ACTUATOR | £24.75 | Add to |
| 016 | 712-3017 | NUT:JAM:3/8-16:GR5 | £2.97 | Add to |
| 017 | 712-3010 | NUT 5/16 x 18 | £2.77 | Add to |
| 018 | 712-3006 | NUT | £2.77 | Add to |
| 019 | 712-0380 | NUT:FLGLK:1/4-28:GRF | £3.20 | Add to |
| 020 | 712-0271 | NUT:SEMS:1/4-20 | £3.03 | Add to |
| 021 | 712-0158 | NUT, HEX CENTER LOCK, 5/16-18 | £9.35 | Add to |
| 022 | 710-3083 | NO LONGER AVAILABLE | N/A | POA |
| 023 | 710-0604A | SCREW | £3.62 | Add to |
| 024 | 710-0599 | HEX TT SCREW 1/4-20 | £4.95 | Add to |
| 025 | 710-0395 | SCRE.HHCS:5/16-18:2.25:GR2:STD | £4.62 | Add to |
| 026 | 710-3008 | HEX BOLT | £3.03 | Add to |
| 027 | 683-0166637 | CHUTE ASM (OBSOLETE) (OBSOLETE) | £165.14 | Add to |
Good to deal with qwick turn round will use again cheers
Russel Laverack
29/04/2026
AAAAAA++
ROBERT HEAD
28/04/2026
great service parts delivered on time
Roger Kidd
27/04/2026
Excellent service, friendly and helpful, highly recommended
Gerald Palmer
27/04/2026
All our prices include VAT