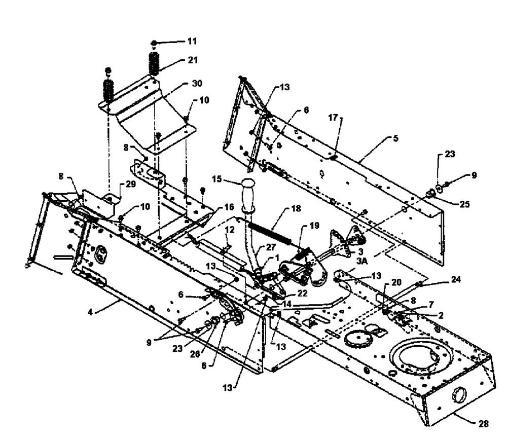
Deck lift

Parts list

Match the number with the image on the left and click "Add" button to add the item to your basket

Please note, that the prices are for individual items

Items might appear more than once on the drawing, please check and adjust the quantity you require.

RefNoDescriptionPrice
00117675A637NO LONGER AVAILABLEN/A POA
00217962PLT:SW£4.66 Add to
003683-0059SHF ASM:LIFT W.O.P£103.33 Add to
004683-0174637WELD ASM:SUPT:TRANS RH 683-0174N/A POA
005683-0175637WELD ASM:SUPT:TRANS LH 683-0175£89.89 Add to
006710-3008HEX BOLT£3.03 Add to
007710-0224NO LONGER AVAILABLEN/A POA
008710-0599HEX TT SCREW 1/4-20£4.95 Add to
009710-0604ASCREW£3.62 Add to
010710-0607SELF TAP SCREW£4.71 Add to
011710-0623SCR:TT:3/8-16:.750 HXINDWSH£6.30 Add to
012712-0185ZIP TWIST FASTENER (FOR Ò 1/4£4.62 Add to
013712-04063FLANGED NUT£4.20 Add to
014714-0470COTTER PIN£5.07 Add to
015720-0233GRIP:HNDL:DECK LIFT£7.92 Add to
016725-0157NO LONGER AVAILABLEN/A POA
017726-0139SPEED NUT 10Z U-TYPE£3.39 Add to
018732-0307ASpring£22.68 Add to
019732-0637EXTENSION SPRING£5.70 Add to
020732-0750ASPACER: SWITCH ACTUATOR£24.75 Add to
021732-0828NO LONGER AVAILABLEN/A POA
022736-0160WASH:FLAT:.530x.930x.050£3.39 Add to
023736-0231WASHER FLAT£3.58 Add to
024738-0526RUNNING BOARD ROD .500 DIA X 2£40.95 Add to
025741-0487CFLANGE BEARING£6.18 Add to
026748-0176FLANGE BEARING£8.62 Add to
02717675A637NO LONGER AVAILABLEN/A POA
028783-0649FRM: LWR 600£207.60 Add to
029783-0540637PLATE-BATTERY 783-0540£77.95 Add to
030783-0550PLATE-BATTERYN/A POA
03A17637ALIFT SHAFT£119.35 Add to