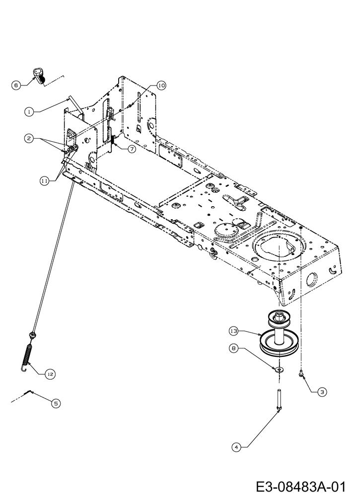
Deck engagement, Engine pulley

Parts list

Match the number with the image on the left and click "Add" button to add the item to your basket

Please note, that the prices are for individual items

Items might appear more than once on the drawing, please check and adjust the quantity you require.

RefNoDescriptionPrice
001647-04096A-SHNDL ASM:PTO:LT-5£44.10 Add to
002710-0599HEX TT SCREW 1/4-20£4.95 Add to
003710-1260ASCREW£4.00 Add to
004710-3157AHEX.SCREW HHCS:7/16-20:3.25GR5£9.80 Add to
005714-04040PIN-COTTER£4.38 Add to
006720-04049AGRIP:HNDL:3/8£18.62 Add to
007732-04276APTO RETURN SPRING£11.28 Add to
008736-0322FI-WASH£8.68 Add to
010738-04237ASCR:SHLDR:T:#10-32:.500£3.44 Add to
011741-04119ABRG:PTO:LT-5£8.53 Add to
012746-04173EKIT - CABLE & SHOULDER SCREW£50.40 Add to
013756-04196APUL ENG 3.39x6 12 DIA TRANS£88.08 Add to