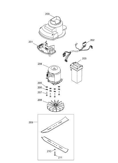
Blade, Blade adapter, Engine

Parts list

Match the number with the image on the left and click "Add" button to add the item to your basket

Please note, that the prices are for individual items

Items might appear more than once on the drawing, please check and adjust the quantity you require.

RefNoDescriptionPrice
2004919314Air guide cover 34£16.26 Add to
2014919058INVERTER BLM34 TEMP.LIMIT 85³£248.48 Add to
2024919054cable loom£65.91 Add to
20349190964919096£190.71 Add to
204113904146V 3~phase motor, lawn mower:£207.65 Add to
205736-0668WASHER£2.23 Add to
206736-0648WASHER:LOCK:B6:DIN 127£2.44 Add to
207710-04197SCR:M6-1:35.00 LG DIN 931£4.11 Add to
2084908027FAN£20.21 Add to
2094908405BLADE-24INN/A POA
2104908101nut£17.59 Add to
2110010302hexagon screw£3.74 Add to