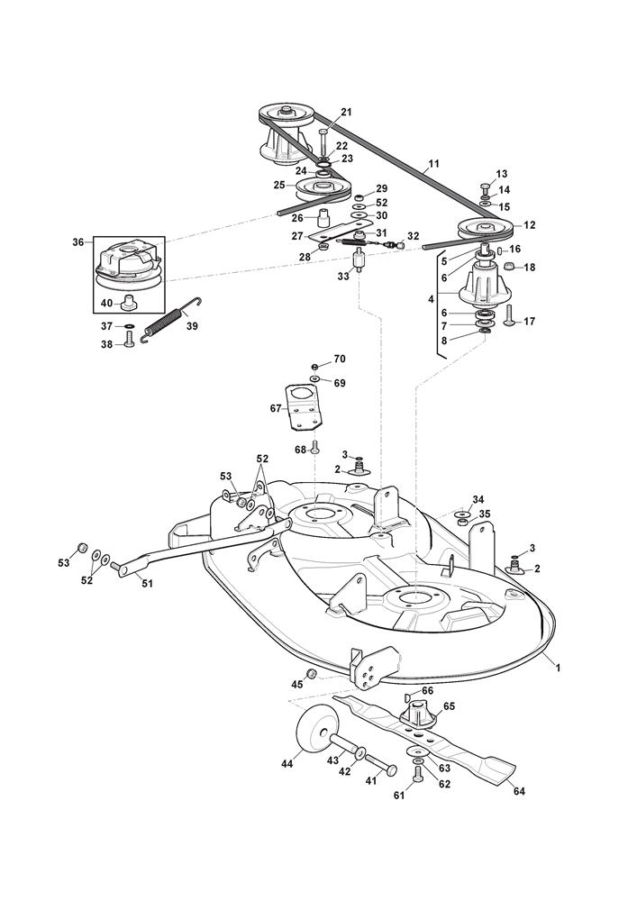
CUTTING PLATE

CUTTING PLATE assembly details for Mountfield 1538M-SD (2T0510483/M22) 2022 model

Parts list

Match the number with the image on the left and click "Add" button to add the item to your basket

Please note, that the prices are for individual items

Items might appear more than once on the drawing, please check and adjust the quantity you require.

RefNoDescriptionPrice
001382564209/4CUTING DECK CASING SD98 (GREY)£366.82 Add to
002325033086/0WASHING CONNECTION SD 98£3.60 Add to
003119035000/0O RING 10.77 x 2.62£5.46 Add to
004382207204/1BLADE SHAFT ASSEMBLY LEFT HAND£102.48 Add to
005125020804/0BLADE SHAFT LEFT HAND£35.71 Add to
007325160501/1DUST COVER WASHER£2.06 Add to
008112609260/0CIRCLIP D=20£2.02 Add to
011135061504/0LCTRAPEZOIDAL BELT A77£30.66 Add to
012125601571/0BLADE SHAFT PULLEY£32.99 Add to
013112793102/0SCREW TE M8x20 UNI 5739 ACC.8.8£2.06 Add to
014112540260/0INNER TOOTHED WASHER M8£2.06 Add to
015125670007/0FIXING WASHER£2.06 Add to
016112139480/0KEY 6x6x20 UNI6604-A 6.8£2.06 Add to
017112818700/0SCREW M8 x 25£2.81 Add to
018112154210/0SELF-LOCK WINGED NUT M8 DIN 6927£2.06 Add to
021112691910/0SCREW M8X65£2.84 Add to
022112524010/0WASHER M8 8.4 x 24 x 4£1.91 Add to
023112610800/0CIRCLIP D=35£2.06 Add to
024119216048/0BEARING£18.27 Add to
025125601606/0FLAT PULLEY DI 110 H26£26.18 Add to
026125160056/0PULLEY SPACER£4.23 Add to
027325318232/0BLADE PULLEY LEVER£8.04 Add to
028112293201/0HEXAGON NUT M8 WITH EXAGONAL FLANGE£2.06 Add to
029112155020/0SELF-BINDING NUT M10£2.06 Add to
030125670022/0WASHER£2.06 Add to
031125040635/0BUSH£4.78 Add to
032382004618/0DECK ENGAGE CABLE£23.17 Add to
033125160086/0SPACER£6.55 Add to
034112523080/0WASHER M10 11 x 30 x 2.5£2.06 Add to
035112156602/0LOW SELF-LOCKING NUT M10£1.79 Add to
036112156602/0LOW SELF-LOCKING NUT M10£1.79 Add to
037112543000/0SAFETY WASHER D=7/16£2.06 Add to
038112737320/0THREADED SCREW 7/16" x 3" 20 UNF£4.78 Add to
039125430277/1TENSION SPRING£2.47 Add to
040118870395/0CLUTCH BUSH£15.00 Add to
041112692050/0HEX-HEAD SCREW£1.91 Add to
042112523060/0WASHER M8 8.4 X 24 X 2£2.06 Add to
043125510072/1WHEEL SPACER£2.18 Add to
044182700001/0ANTI-SCALP WHEEL D=100mm£5.87 Add to
045112293201/0HEXAGON NUT M8 WITH EXAGONAL FLANGE£2.06 Add to
051382000565/1BALANCE ROD£20.99 Add to
052325670008/1ANTI-FRICTION WASHER 10.8 x 19 x 0.8£2.06 Add to
053112156602/0LOW SELF-LOCKING NUT M10£1.79 Add to
061112735694/0HEX-HEAD SCREW 3/8" X 1 1/2" 24 UNF£1.97 Add to
062112523080/0WASHER M10 11 x 30 x 2.5£2.06 Add to
063122160400/0SPRING WASHER 50 x 2 x 10.2£2.18 Add to
064182004346/0MULCHING BLADE 98cm£23.45 Add to
065125463200/0BLADE BOSS£9.08 Add to
066112139100/0WOODRUFF KEY 4 x 6.5 D=16 UNI6606 C40£2.69 Add to
067325774665/0BRACKET£15.92 Add to
068112793102/0SCREW TE M8x20 UNI 5739 ACC.8.8£2.06 Add to
069112523060/0WASHER M8 8.4 X 24 X 2£2.06 Add to
070112154210/0SELF-LOCK WINGED NUT M8 DIN 6927£2.06 Add to